460-мм орудие Тип 94
История создания


Гигантские 460-мм орудия были наиболее интересным аспектом проекта сверхлинкоров типа Yamato. Японцы начали проявлять интерес к орудиям максимального калибра еще в 1920-е годы, когда был разработан проект линкоров типа № 13 и изготовлены два 480-мм орудия с длиной ствола в 45 калибров. Как и 410-мм орудия линкоров типа Nagato, они являлись увеличенными версиями очень удачного британского 381-мм орудия Mk.1. Одна из этих пушек была разрушена во время испытаний, а другая попала к американцам после войны.
Вновь вопрос о создании больших орудий для новых линкоров был поднят в 1934 году. При этом от 480-мм/45 орудий из-за их величины пришлось отказаться, но по мнению военно-морских кругов, требовалось нечто большее, чем уже имевшиеся 410-мм пушки. Поэтому выбор пал на 460-мм. Проект этих систем был готов к 1939 году. Его разработал коллектив под руководством инженера С.Хада, умершего в годы войны. Работы проводились в большой секретности: орудие получило официальное обозначение 40-SK Model 94, что указывало на якобы 400-406-410-мм калибр. Это обозначение сохранилось до конца войны[1]. Как и в случае самих кораблей, меры предосторожности увенчались полным успехом - о истинном калибре орудий линкоров типа Yamato американцы узнали только после оккупации Японии. Возможно, адмирал Хэлси не искал бы так настойчиво возможности сразиться с IJN Yamato и IJN Musashi в дневном бою, знай он об истинных размерах японских линкоров и их вооружении.
При создании самых тяжелых в истории морских орудий японским инженерам пришлось преодолеть ряд технических трудностей. В результате главная артиллерия кораблей типа Yamato стала очень дорогой, однако империя сознательно пошла на это, чтобы иметь возможность поражать противника в тех условиях, в которых ему трудно было бы противопоставить достойный ответ.
Конструкция



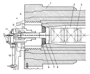
1 - кольцо казенника; 2 - кожух; 3 - проволочная навивка; 4, 5 - скрепляющие цилиндры; 6 - внутренняя труба; 7 - наружная труба; 8 - зарядная камора; 9 - казенник.


1 - уплотнитель: марля в два слоя, пергамент один слой; 2 - прессованный черный порох; 3 - сыпучий черный порох; 4 - бумажная прокладка; 5 - пушечный хлопок; 6 - медный корпус.

1 - казенное кольцо; 2 - зарядная камора;3 - заряд 55 кг (шесть для выстрела полным зарядом); 4 - затворный поршень; 5 - резьбовые сектора; 6 - кольцо обтюратора; 7 - газовая прокладка; 8 - кольца уплотнения; 9 - запальная втулка; 10 - кронштейн затвора; 11 - электрозапал.
Конструкция 460-мм орудий представляла собой странное сочетание новых и старых технологий. Ствол состоял из четырех слоев-цилиндров (в казенной части добавлялся еще один, пятый, цилиндр), причем внутренние изготавливались современным методом центробежного литья, а внешние представляли собой старую британскую конструкцию - трубы, скрепленные навитыми на них километрами стальной проволоки. Сами англичане к тому времени отказались от проволочной технологии после неудачи с 406-мм орудиями линкоров типа Nelson и полностью перешли на центробежные отливки. Тем не менее, японцам удалось обеспечить довольно высокие баллистические характеристики и при такой «композитной» конструкции.
Ствол имел длину в 45 клб (20,7 м) и весил около 165 т. Полная длина орудия с затвором равнялась 21,3 м. Для вращения снаряда применялась равномерная по всей длине ствола нарезка, делавшая один полный оборот на отрезке в 28 клб снаряда (12,88 м). Всего имелось 72 нареза глубиной 4,6 мм. При выстреле снаряд проделывал в стволе путь в 17,6 м или 38,3 клб. Объем каморы, в которой происходило горение зарядов, составлял 480 л. Американцы любят сравнивать баллистику 460-мм орудий своего противника и своих 406-миллиметровок с длиной ствола 50 клб, установленных на последних линкорах США типа Iowa. Вообще-то, американские пушки уступали японским как по абсолютному весу снаряда (1225 против 1460 кг), так и по начальной скорости (762 и 780 м/с). Единственным существенным преимуществом был большой относительный вес (отношение массы снаряда к кубу калибра в дм) 18,3 по сравнению с 15 (т.е. при «американской» форме японский снаряд весил бы на 300 кг с лишним больше - около 1780 кг). Соответственно меньшими были потери скорости вследствие сопротивления воздуха в полете, особенно на больших дистанциях. Однако, как показывают расчеты, при одинаковой форме снарядов японское орудие все же имело превосходство в пробиваемости вертикальной брони на всех дистанциях.
Производство и судьба орудий

Выпуск орудий начался ещё до принятия на вооружение в 1938 году, и в 1938-1940 годах было изготовлено 27 стволов: два ствола использовались для полигонных испытаний, шесть полных трехорудийных установок смонтировали на двух кораблях, и семь, из положенных девяти, предназначались линкору IJN Shinano. Вероятно, два ствола для IJN Shinano и стволы для линкора с №111 были начаты изготовлением, но после отмены строительства кораблей были сняты с производства и отправлены на слом. Полностью изготовленные компоненты использовались для ремонта и обслуживания орудий IJN Yamato и IJN Musashi.
Полигонную установку для испытаний и две поворотные платформы, одна из которых была полностью исправна, захватили американцы.
Первый ствол был закончен изготовлением в марте 1938 года и использовался для испытаний на полигоне флота Kamegakubi, расположенного возле Куре. Этот и ещё один ствол были уничтожены на полигоне в ноябре 1945 года самими японцами по приказу американской администрации[2].

На полигоне Kamegakubi американцами были обнаружены семь стволов в разной степени укомплектованности. Пять из них, вместе с башенными механизмами и значительным количеством запчастей, были уничтожены сразу после того, как с ними ознакомились. Большую проблему представляла нехватка оборудования для проведения нормальных исследований. Единственный тяжелый кран не работал, а многие механизмы были разломаны и свалены в груду. Впоследствии обломки разобрали, а «составные части» по возможности изучили.
Остальные два орудия [3] с запасными частями были перевезены в США, на полигон Dahlgren в Вирджинии[4] Позже [5] туда же были доставлены 2 затвора снятых с уничтоженных орудий.
После проведения всесторонних испытаний и изучения конструкции, орудия остались на полигоне и были сданы на слом в середине 1950-х годов.
До настоящего времени сохранились в различных музеях только несколько 460-мм снарядов и один калибра 481 мм.
Боеприпасы и боекомплект
Основная статья: Боеприпасы Японии
Снаряды



Японские снаряды формально соответствовали обычно принятым категориям. Однако фактически все их типы заметно отличались от аналогичных у союзников. Основным типом являлся бронебойный снаряд типа 91. Он был специально спроектирован как ныряющий, чтобы при близких недолетах мог сохранять под водой траекторию движения и пробивать систему ПТЗ, а не мощный броневой пояс. Такие свойства достигались применением бронебойного наконечника (колпачка), состоящего из двух частей. Прилегающая к основному телу снаряда часть наконечника имела совершенно плоский нос. Исследования показали, что эта форма лучше всего позволяет сохранять траекторию в воде, не давая снаряду быстро затонуть, что обычно наблюдалось у обычных заостренных снарядов. Сверху плоский срез закрывался второй частью наконечника, близким к обычной форме. Обе части скреплялись специальными тонкими стержнями, чтобы при ударе о воду внешний наконечник отваливался и тонул, открывая плоскую часть. Наконец, вся конструкция закрывалась сверху тонким баллистическим колпачком-экраном, легко сминавшимся или отлетавшим при ударе о любую преграду.



1 - баллистический обтекатель; 2,3 - две части бронебойного наконечника; 4 - корпус снаряда; 5 - алюминиевый «противоинерционный» блок (служит для предотвращения преждевременной детонации ВВ); 6 - заряд ВВ; 7 - оболочка заряда ВВ; 8 - ведущие пояски; 9 - взрыватель Type 13 mod.5; 10 - стакан; 11 - головка взрывателя Type 91; 12 - дистанционная трубка-замедлитель; 13 - деревянная головная часть (обтекатель); 14 - осколочные и зажигательные элементы; 15 - детонатор.


Появление таких снарядов было вызвано тем глубоким впечатлением, которое произвело на специалистов флота подводное попадание в недостроенный линкор IJN Tosa. Снаряды типа 91 имели еще одно важное отличие: большое время замедления. Оно составляло до 0,4 с и позволяло взрывателю сработать после 50-метрового пути в воде. Однако невозможно вести стрельбу одинаковыми пулями и по слону, и по белке. Если снаряд попадал непосредственно в корабль, то даже при удачном взведении взрывателя о первую же преграду он мог пройти 120-150 м до точки взрыва, удалившись на безопасное расстояние от свой цели. При попадании в броню с недостаточной для пробития скорости снаряд успевал бы расколоться до срабатывания взрывателя, что снижало эффект взрыва. В общем, тип 91 хорошо подходил для экзотической стрельбы на недолетах, неплохо действовал по броне (в случае 460-мм калибра - за счет хорошей баллистической пробиваемости), но насквозь пронизывал легкие надстройки и даже корпус. Фиаско этих специфических «противолинкорных» снарядов полностью проявилось в бою в заливе Лейте. Конвойные авианосцы, созданные на основе обычных торговых судов, ухитрялись выдерживать по 10-15 попаданий снарядов калибра 203 мм, а если бы снаряды взрывались, гибель «жестяных» кораблей от пожаров или затоплений была бы неизбежной.
Следует сказать несколько слов о пробивающей силе бронебойного снаряда и его форме. Как и американцы, японские оружейники придавали большое значение обоим факторам. Содержание взрывачатого вещества (тринитроанизола, ТНА) составляло всего около 1,5% от веса снаряда - 22 кг (аналогичное содержание «начинки» имели и «тяжелые» бронебойные снаряды США). Малый заряд обеспечивал большую прочность самого снаряда, который вполне мог без разрушения пробивать броню до 600 мм, если только на это хватало кинетической энергии, а угол встречи с преградой был близок к прямому.
Что касается формы, то она представлялась вполне современной. Задняя часть корпуса снаряда имела плавный скос к донышку (английский термин boat-tailed удачно характеризует форму продольного разреза). Из исследований 1930-х годов, проведенных во многих странах, было выяснено, что такая форма оптимальна для достижения максимальных дальностей полета за счет улучшения обтекания снаряда потоком воздуха и уменьшения потерь скорости (именно такой формой отличались сверхдальние снаряды, например, созданные в СССР). Поэтому не вполне понятно, почему американские сравнительные баллистические данные дают типу 91 столь средние характеристики. Недостатком «лодочной» формы задней части корпуса снаряда в принципе являлось увеличенное рассеяние, однако как раз в случае с орудиями кораблей типа Yamato это неприятное явление удалось свести к минимуму. Так что единственным недостатком бронебойных снарядов главного калибра стал, пожалуй, их взрыватель со слишком большим замедлением.
Интересно отметить, что японцы выпустили несколько снарядов типа 91 и для орудий калибром 480 мм, о котором говорилось выше. Один из таких снарядов попал в руки американцев после войны. По-видимому, он был изготовлен в 1941 году и отличался от 460-мм снаряда наличием только одного ведущего пояска вместо двух. Размеры этого мастодонта достигали 2,06 м в длину и 1727 кг веса.
В 1941 году был разработан бронебойный Type 1, отличающийся от Type 91 конструкцией баллистического обтекателя и несколько большей длиной - 2060 мм по сравнению с 1953,5 мм. Под головным обтекателем размещался стакан с некоторым количеством красящего вещества. При ударе о преграду или воду взрыв снаряда окрашивался в цвет красящего вещества. Эти снаряды предполагалось применять при эскадренной стрельбе нескольких линейных кораблей для облегчения корректировки стрельбы. Неясно, попали ли эти снаряды на корабли, но за IJN Musashi был закреплен зеленый цвет взрыва, за IJN Yamato - белый или неокрашенный.
Еще одним типом снаряда в 460-мм боезапасе линкоров типа Yamato был необычный «обыкновенный» (common) снаряд «Сан-шики» (Саншикидан, яп. 三式弾) тип 91 модели 3. На самом деле он представлял собой зенитный снаряд, известный также как осколочный или «зажигательная шрапнель», и представлял собой полый тонкостенный цилиндр, заполненный восемью слоями небольших (длина 9 см) цилиндриков, часть из которых являлась стальными стержнями, а часть - полыми трубками, содержащими зажигательную смесь (разновидность термита на основе каучука). Всего 460-мм снаряд содержал 900 зажигательных и 600 осколочных поражающих элементов. В головной части имелся дистанционный (срабатывающий по времени) взрыватель типа 91 с установкой времени срабатывания в диапазоне от 0 до 55 с. Стальной стержень, проходящий по оси снаряда, активировал находящийся в основании корпуса заряд пикриновой кислоты, разбрасывающий поражающие элементы и образовавшиеся осколки корпуса на значительное расстояние. Зажигательная смесь загоралась примерно через полсекунды и давала язык пламени длиной около 5 м, имеющий температуру до 3000°С. Разрыв снаряда «Сан-шики» выглядел впечатляюще, но, как и большинство таких хитроумных зенитных устройств, на деле оказался малоэффективным.
Оба основных типа снарядов имели слишком узкое назначение и в равной степени плохо подходили для борьбы с небронированными или слабо бронированными целями, а также для стрельбы по берегу. По некоторым источникам, для 460-мм орудий все же существовал снаряд Type 0, близкий к обычному фугасному (НЕ по англо-американскому обозначению). Он весил 1360 кг (столько же, сколько и «Сан-шики») и содержал примерно 4,5% тринитроанизола - менее сильного, но более стабильного ВВ, чем пикриновая кислота. Этот тип боеприпасов вполне закрывал «дыру в ассортименте» и вполне подходил бы для стрельбы по крейсерам и эсминцам, а также по береговым целям или авианосцам. Однако существуют сомнения о том, что он являлся штатным видом. Никогда не приводится марка этого снаряда, и он не фигурирует в описании боезапаса линкоров типа Yamato. Более того, как раз отсутствием подходящих снарядов мотивируется тот факт, что суперлинкоры не использовались в решающей кампании 1942-1943 годов в районе Соломоновых островов. В заливе Лейте стрельба также велась бронебойными снарядами и «Сан-шики». Возможно, что фугасный снаряд был экспериментальным и широкого распространения не получил.
| Тип и марка снаряда | Бронебойный Type 91 | Бронебойный Type 1 | Фугасный Type 0 | Зенитный Type 91 mod.3 |
|---|---|---|---|---|
| Вес снаряда, кг | 1460 | н/в | 1360 | 1360 |
| Вес взрывчатого вещества, кг | 33,85 | 33,85 | 61,7 | - |
| Длина снаряда, мм | 1953,5 | 2060 | 1600 | 1600 |
| Вес заряда, кг | ||||
| Начальная скорость, м/с | 780 | 780 | 805 | 805 |
| Дальность стрельбы, м | 42 110 | 42 110 | 32 550 | 32 550 (по горизонтали) 11 000 (по высоте) |
Заряды

В 1920 году из Германии завезли застыватель (желатинизатор), названный «централитом» и 16 декабря 1924 года на вооружение приняли порох типа 13 года под маркой "порох ОС" (немецкий - доку - кордит) и "ОТ" (немецкий турбит). В 1928 году состав пороха типа 2 года (С2 и Т2) изменили и 1 мая 1930 года на вооружение приняли «порох типа 89» (1929 г.) под маркой «порох С3» и «порох Т3».
В начале 30-х годов были разработаны весьма эффективные застыватель и антикоагулятор (орто-тотил-уретан или «ОТУ»), который имел точку плавления 42°С вместо 72°С у предыдущего «централита». Добавление «ОТУ» в порох делало последний более легким в обращении и безопасным при перемешивании и раскатке. Порох с добавлением «ОТУ» приняли на вооружение 12 мая 1933 года под маркой «порох типа 93»: «тип 93 №1» для 410-мм/45 и 460-мм/45 орудий, а «тип 93 №2» для 155-мм/60 орудий. В 1943 г. ввели новый антикоагулятор тотил-централит, который в составе «пороха типа 3» использовался для 120-мм зенитных орудий.

Для ночных боев японский флот разработал ряд средств для уменьшения вспышек при стрельбе орудий. Бесвспышковый порох сначала с переменным успехом испытали на маневрах 1930 г. (порох Y - «игрек») - в уменьшенных зарядах для 200-мм, 140-мм и 120-мм орудий. Дальнейшие разработки привели к принятию в 1936 году пороха «типа 2 (FD)», который временно использовали до принятия через два года пороха FD. Состав обоих порохов был одинаков: 30% нитроглицерина, 61,3% нитроцеллюлозы, 5% централита, 3% орто-лилметана и 0,7% минерального вещества. Кроме этого они содержали отдельно от остальных компонентов гидроцеллюлозу и сульфат поташа (по 4-8% веса заряда для каждого, в зависимости от калибра).
Вес «полного» заряда 460-мм выстрела составлял 330 кг пороха и состоял из шести зарядов по 55 кг. Они были уложены на стеллажи в погребах в герметичных огнеупорных пеналах (по два заряда в пенал). При подготовке к выстрелу заряды извлекались из пеналов и через пламянепроницаемые люки подавались к системам подачи внутри вращающейся структуры 460-мм башни.
Боекомплект

Нормальный штатный запас снарядов составлял 100 на каждое орудие, причем 60 из них (на башню - 180) хранились во вращающейся части башни, а остальные 40 (на башню - 120) - в погребах, вместе с комплектом учебных снарядов для практических стрельб. Транспортировка снарядов из погреба во вращающуюся структуру башни было делом долгим и трудным, но, похоже, японских моряков это не беспокоило, они считали, что для дневного боя вполне хватит 540 снарядов, готовых к подаче непосредственно из цилиндра, являющегося основанием установки. Однако емкость погребов (вне самих барбетов) не ограничивалась 360 снарядами. Максимальный боезапас составлял 120 снарядов на ствол (всего 1080), а полная емкость каждого из погребов доходила до 213-214 снарядов, что соответствовало общему количеству в 1180 снарядов, а по некоторым данным, максимальная емкость всех погребов ГК достигала даже 1200 снарядов.
Баллистика и бронепробиваемость
Бронебойные снаряды обоих типов имели начальную скорость 780 м/с, дальность стрельбы - 42 030 м при угле возвышения орудий - 45°, фугасные - 805 м/с и 32 550 м.
| Таблица стрельбы 460-мм бронебойным снарядом Type 91 | |||
|---|---|---|---|
| Угол возвышения ствола, град. | Дальность стрельбы, м | Скорость падения, м/с | Угол падения, град. |
| 2,4 | 5 000 | 690 | 3.3 |
| 5,4 | 10 000 | 620 | 7.2 |
| 8,6 | 15 000 | 562 | 11.5 |
| 12,6 | 20 000 | 521 | 16.5 |
| 17,2 | 25 000 | 490 | 23.0 |
| 23,2 | 30 000 | 475 | 31.4 |
| 30,0 | 35 830 | н/д | н/д |
| 40,0 | 40 700 | н/д | н/д |
| 45,0 (максимальный угол возвышения в башне) |
42 030 | н/д | н/д |
| 45,0 (фугасный снаряд Type 0) | 32 550 | н/д | н/д |
| 48,0 (полигонное значение) | 42 110 | н/д | н/д |
| 50,0 (полигонное значение) | 41 870 | н/д | н/д |
| Таблица бронепробиваемости 460-мм бронебойного снаряда Type 91 | ||||
|---|---|---|---|---|
| Дальность стрельбы, м | Скорость падения, м/с | Пробиваемая вертикальная броня, мм (дюймы) |
Пробиваемая горизонтальная броня, мм (дюймы) |
Угол падения, град. |
| 20 000 | 522 | 566 (22,28") | 167 (6,57") | 16.5 |
| 30 000 | 475 | 416 (16,38") | 230 (9,06") | 31.4 |

Большое расстояние между стволами и хорошее качество изготовления стволов орудий и снарядов обеспечивали небольшой разброс в залпе. При одновременной стрельбе из 4-5 орудий на максимальной дистанции (около 42 км) он составлял 500-600 м - чуть больше процента от дистанции. При стрельбе полным залпом разброс составлял несколько большее значение. Важно, что такие результаты достигались не только при учебных стрельбах, но и в бою. Свидетельства очевидцев и фотографии, сделанные в бою в заливе Лейте, подтверждают этот факт.
Трехорудийные башенные установки
Столь же внушительными, как сами орудия, выглядели орудийные башни главного калибра. Каждая из них весила 2510 т (2774 т с боезапасом) - больше, чем эсминец времен Второй мировой войны. Значительная доля этого веса (свыше трети) приходилась на сверхмощное бронирование. Каждая башня разделялась стальными переборками на четыре отделения: по одному на каждое из орудий и отделение с оборудованием. Отдельный отсек позади самой орудийной установки предназначался для гигантского 15-метрового дальномера.


| Характеристики 460-мм трехорудийной башенной установки | |
|---|---|
| Внутренний диаметр роликового погона, м Наружный диаметр роликового погона, м Расстояние между центром вращения и цапфами, м Расстояние от оси орудия до роликового погона, м Расстояние между осями орудий, м Откат орудия, м |
11,5 13,05 3,52 4,4 3,05 1,43 |
| Вес трех орудий с затворами, т Вес остальной качающейся части установки, т Поворотная платформа и броня, т Вес остальных вращающихся при горизонтальной наводке частей (вращающаяся структура), т Броня стенок и крыши башни, т Вес боезапаса внутри вращающейся структуры, т |
495 228 350 647 790 264 |
| Максимальный угол возвышения, град Максимальный угол снижения, град |
+45 -5 |
| Скорость вертикальной наводки, град./с Скорость горизонтальной наводки, град./с |
10 2 |
Главное отличие японских башен ГК от современных им английских и американских установок заключалось в малом числе блокировочных устройств, поэтому особое значение приобретала хорошая тренировка прислуги. Например, отсутствовала блокировка движения снарядного подъемника при нахождении зарядного лотка в нижнем положении, при этом снаряд мог быть поднят и удариться своей головной частью по лотку. При использовании донных взрывателей такой не очень сильный удар представлялся несущественным, но в случае головного взрывателя он теоретически мог стать роковым.
Скорострельность орудий составляла от 1,5 до 2 выстр./мин, изменяясь в зависимости от угла возвышения орудий, поскольку заряжание осуществлялось при фиксированном угле по вертикали, равном +3°.
| Последовательность и время выполнения операции перезарядки 460-мм/45 орудия Type 94 (в секундах) | |
|---|---|
| Опускание ствола с +20° до угла заряжания Открывание затвора Выдвижение зарядного лотка со снарядом вперед Досылание снаряда Отвод досылателя и возврат лотка Поворот зарядного цилиндра и досылателя в рабочее положение Досылание заряда Отвод досылателя Возврат зарядного цилиндра и досылателя Закрывание затвора Подъем орудия до угла +20° Выстрел, откат и накат орудия |
2,7-3,0 2,0-2,5 3,0 3,0 3,0 3,0 3,0 3,0 3,0 2,0 2,75-3,0 2,75-3,0 |


Таким образом, цикл стрельбы составлял 28 с при малом возвышении, около 34 с - при +20° и около 40 с при максимальном угле возвышении в 45° - отличные показатели для орудий такого калибра. Горизонтальная и вертикальная наводка осуществлялась посредством гидропривода. Система горизонтальной наводки была дублирована и включала два гидравлических привода мощностью по 500 л .с. и передачу типа «рейка-шестерня», примененную вместо традиционной для японских установок червячной передачи, для которой просто не хватало места. Одновременно использовался только один привод, второй был резервным. Для вентиляции служила независимая система, включавшая два нагнетательных вентилятора мощностью по 15 л.с. и пять вытяжных по 5 л.с.


Большой интерес представляет устройство подачи и погребов боезапаса, где было применено немало интересных и даже уникальных решений. Нормальный штатный запас снарядов составлял 100 на каждое орудие, причем 60 из них хранились во вращающейся части башни, а остальные 40 - в погребах, вместе с комплектом учебных снарядов для практических стрельб. Транспортировка снарядов из погреба во вращающуюся структуру башни было делом долгим и трудным, но, похоже, японских моряков это не беспокоило, они считали, что для дневного боя вполне хватит 540 снарядов, готовых к подаче непосредственно из цилиндра, являющегося основанием установки.


Система подачи была полностью механизирована, что неудивительно, ведь вес снаряда составлял почти полторы тонны. Как внутри цилиндра, так и во внешних погребах они хранились рядами в вертикальном положении в виде своего рода гигантских обойм, напоминающих пистолетные и содержащих от 4 до 9 снарядов. «Обойма» достаточно легко перемещалась с помощью гидравлических толкателей. Из внешних погребов снаряды подавались во вращающийся барбет через две двойные пламянепроницаемые дверцы, еще дополнительная пара дверок имелась в тыльной части барбета, наименее уязвимой от попаданий. При передаче снарядов требовалось развернуть башню в походное положение, чтобы совместить внешние и внутренние дверцы, поэтому осуществление такой операции в бою действительно вряд ли было возможно.
Хранилище готового к бою запаса внутри цилиндрической части основания башни имело два уровня, с любого из них можно было осуществлять погрузку в каждый из трех элеваторов - по одному на орудие. Из нижней части вращающейся структуры они выталкивались прямо к подъемнику, сначала на нижнюю горизонтальную платформу, наклоненную под углом 5° к горизонту, а затем в сам подъемник. Дверцы подъемника автоматически закрывались с помощью подпружиненного кривошипного механизма, когда «ковш» подъемника воспринимал вес снаряда. Последний располагался в подъемнике под небольшим углом к вертикали, и дополнительно удерживался тремя захватами. Когда снаряд достигал верха подъемника, специальный механизм заваливал его под прямым углом к первоначальному положению, укладывая почти горизонтально. Затем снаряд перегружался в наклонный лоток, расположенный под углом 8° к горизонту (напомним, что угол заряжания составлял 3°), а в лотке снова крепился, теперь специальными скобами. После этого подготовленный к заряжанию снаряд перегружался из подвижного лотка на неподвижный, а затем в загрузочную каретку.




Каретка двигалась по рельсам вперед и в конце своего пути опускалась в положение заряжания, снаряд принимал необходимый наклон в 3°. Досылатель обычного цепного типа отправлял снаряд в камору. Затем цепной прибойник возвращался назад, и происходила досылка зарядов. Для погрузки зарядов служили два перегрузочных отделения, расположенные, как и снарядные погреба, на двух уровнях. Нижнее отделение имело одну тележку и один подъемник и обслуживало среднее башенное орудие, верхнее - два подъемника и две тележки, обслуживающие крайние орудия в башнях. Заряд кордита разделялся на шесть частей - картузов, весом по 55 кг. Картузы извлекались из пеналов, где они хранились попарно, и подавались через пламянепроницаемые люки по желобам внутрь вращающейся структуры башни. Затем все шесть картузов с промежуточных тележек помещались в подъемник, который с обеих сторон ограничивался пламянепроницаемыми дверцами, закрывавшимися посредством комбинации кулачкового привода и ручных рычагов. Открытие верхней дверки блокировало работу досылателя. Зарядный подъемник (он представлял собой, по сути, простой пламянепроницаемый короб сечением 94 х 287 см) пропускал один контейнер со всеми шестью картузами, составлявшими полный заряд.
Для аварийной подачи боезапаса служил вспомогательный подъемник (один на башню) с ручным приводом. В экстренных случаях для перемещения снаряда с подъемником можно было использовать гидравлические лебедки. Как и во всех тяжелых механизированных установках, наличие ручной подачи было чисто номинальным, поскольку в этом случае скорость подачи становилась недопустимо низкой, а персонал очень быстро уставал.
В погребах предусматривалась двойная система аварийного затопления. Помимо обычной системы орошения, погреб можно было полностью затопить за 20 минут при открытии соответствующих клапанов с гидравлическим приводом. В общем же, система затопления не отличалась от принятой в конце Первой мировой войны.
В целом новые установки оказались вполне удачными. Проектировщики были приятно удивлены их эксплуатационными характеристиками. Они ожидали, что такие большие и сложные устройства навлекут массу нареканий со стороны персонала, но этого не случилось. Полный цикл разработки и воплощения установки в металл занял всего лишь около трех лет, поэтому наличие скрытых дефектов, которые могли бы принести серьезные неприятности в боевых условиях, было бы вполне объяснимым. Хотя обычно первые годы эксплуатации новой башни причиняют больше всего хлопот, линкоры типа Yamato оказались счастливым исключением. Вся механика работала без сбоев и быстро осваивалась экипажем. Произошел только один серьезный инцидент, правда, со смертельным исходом. Отмеченное ранее недостаточное количество блокировок и отсутствие так называемой «защиты от дурака» сказались, когда один из матросов попал в пространство между снарядным погребом и перегрузочным отделением и был разрезан надвое снарядным лотком. Было сочтено, что произошло это из-за его собственной неосторожности. Персонал орудийных башен прошел хорошую тренировку, и впредь осложнений по этому поводу не возникало нив боевых условиях, ни в повседневной службе.

Основные недостатки, выявившиеся при эксплуатации башен, являлись несущественными и сводились к обильной и частой смазке тележек и лебедок зарядных подъемников, раннему появлению коррозии зубчатых приводов горизонтальной наводки и сильному шуму в роликах поворотного стола. Единственным конструкционным просчетом можно назвать проблемы, возникающие при работе снарядного подъемника в море, когда крен превышал 5°. К «вынужденным» недостаткам можно отнести и чрезвычайно мощную волну дульных газов при стрельбе ГК, но устранить ее при столь больших орудиях едва ли представлялось возможным.


Оборудование башни включало 15-метровый дальномер с углом возвышения 10°. При этом угол поворота по горизонту у дальномера с такой большой базой был очень маленьким - по прицельному полю 130 милов влево и 160 милов вправо (1 мил = 0,001 дюйма). Каждое орудие имело свой 10-см перископ.
Очень сильную защиту имели башни главного калибра. Лобовая плита из стали VH толщиной 650 мм, наклоненная под углом 45° к вертикали, была эквивалентна примерно 1100 мм(!) вертикальной брони. Она являлась единственным теоретически неуязвимым элементом защиты «непробиваемого» корабля, каким хотели сделать линкоры типа Yamato японские инженеры. Такая плита не должна была пробиваться ни одним из существующих орудий с любой дистанции, даже при стрельбе в упор. Но американцы и здесь внесли свою долю сомнений, и вполне возможно, что небезосновательно. Одну из таких лобовых плит, якобы предназначенную для линкора IJN Shinano, после войны перевезли на полигон в США и обстреляли самыми совершенными в то время американскими 406-мм снарядами Мк.8, модель 6. Из двух снарядов, выпущенных под прямым углом к плите, один не пробил ее, а другой, выпущенный с увеличенной начальной скоростью, пронзил насквозь, причем плита раскололась по месту удара. Американцы связывают этот результат с излишней хрупкостью закаленной с лицевой части брони VH и считают, что при такой большой толщине было бы лучше выполнить плиту гомогенной. Остается под вопросом, не была ли эта плита забракована при производстве. Так или иначе, броня лобовой части башен линкоров типа Yamato остается абсолютным рекордом броневой защиты на кораблях.
Остальные части башен главного калибра, не обращенные при стрельбе непосредственно к неприятелю, были значительно более тонкими: боковые стенки - 250 мм (материал - тоже VH), задние плиты - 190 мм (сталь NVNC). А вот крышу башен опять-таки спроектировали «с запасом» - ее толщина равнялась 270 мм стали VH, что совершенно вне конкуренции и показывает, насколько хотели японцы сделать башни неуязвимыми (ровесники кораблей типа Yamato за рубежом в большинстве своем имели на крышах башен броню не более 152 мм, и даже американские суперлинкоры - только 203 мм). Стенки и крыша отличались сложной формой со значительными углами наклона. Помещение 15-м дальномера в задней части башни полностью прикрывалось 190-мм плитами.


Очень мощное бронирование имели и барбеты башен. По большинству сведений, толщина выступающей над верхней палубой части равнялась 550 мм (материал VH). Ниже палубы (напомним, что в этих местах на верхней палубе имелись 35 - 50-мм экраны) толщина боковых секторов оставалась такой же, а в секторах, примыкающих к диаметральной плоскости, уменьшалась до 440 мм (в ряде источников указывается, что толщина барбетов по бокам составляла 440 мм, а внутренние секторы барбетов по диаметральной плоскости, расположенные ближе к центру корабля, имели толщину 380 мм. На некоторых чертежах установок броня над и под верхней палубой выполнена одинаковой). Следует учесть, что дополнительной защитой служила вертикальная кольцевая внутренняя броневая переборка из стали CNC (как бы дополнительный внутренний барбет), имевшая толщину 50 мм и простиравшаяся от второго дна до верхней палубы. Это позволяло вести огонь из башен даже в случае пробития внешней толстой брони барбета и более надежно изолировать подбашенные отделения от погребов в случае угрозы возникновения пожара.

Пожалуй, наиболее оригинальной и необычной спецификой защиты являлось бронированное дно погребов. Действительно, цитадель линкоров типа Yamato в районе погребов боезапаса имела еще и «днище». Его составляли 50-80-мм плиты (сталь CNC), уложенные в виде «корыта» под погребами - своего рода загнутое вниз продолжение нижнего пояса и противоторпедной переборки. На 112-м и 162-м шп., где начиналась механическая установка корабля, бронированное дно завершалось траверзами из стали NVNC переменной толщины - от 100 мм в верхней части до 50-75 мм в нижней.
Данный элемент бронирования особенно сильно критикуется американскими специалистами, что вполне понятно. Если бронированное дно предназначалось для защиты от осколков разорвавшегося на глубине снаряда, то оно просто не нужно, поскольку на такой глубине осколки полностью теряют пробивную способность. Если же рассчитывалось получить дополнительную защиту от подводных взрывов под днищем, то данное бронирование скорее вредно, так как для расширения газов при взрыве непосредственно под днищем необходимо значительное свободное пространство, не меньшее, чем ширина бортовой противоторпедной защиты (а на деле - больше, поскольку при взрыве у борта газы частично имеют выход наверх). Бронированный «пол» погребов располагался всего в одном палубном пространстве от днища (не более 2-3 м), и при взрыве газы оказывались бы «пойманными» броней под корпусом, усиливая действие взрыва. Такое бронирование - весьма странная конструкторская причуда. Отпущенный на нее вес можно было бы с успехом использовать, например, для частичного бронирования верхней палубы в целях «снятия» бронебойных колпачков со снарядов и взведения взрывателей бомб.
Управление огнем

Основная статья: СУАО Японии











Примерно за год до начала постройки IJN Yamato японцы предприняли обширную модернизацию ранее разоруженного линейного крейсера IJN Hiei. Установленные на этом корабле системы управления огнем, их устройство и расположение стали прототипом для новых линкоров.
IJN Hiei оборудовался системой управления артогнем на небольших углах возвышения типа 97 с 10-метровым двойным дальномером. Надстройка этого линейного крейсера, хотя внешне и отчетливо «японская», значительно отличалась от прежних «пагод» модернизированных линкоров типа Nagato, типа Ise и типа Fusō. Она-то и послужила основой для проектирования надстройки IJN Yamato.
Система управления огнем типа 98, установленная на кораблях типа Yamato, была последней и самой совершенной из разработанных в Японии систем этого типа. Она включала в себя следующие компоненты:
1. Дальномеры.
Четыре 15-метровых, из которых один располагался в основании башенки директора ГК в очень выгодной позиции на самой верхушке носовой надстройки, и по одному в каждой из башен ГК; а также один 10-метровый, установленный в кормовом (резервном) директоре.
В состав главного директора входили три дальномера: два - совмещения и один стереоскопический. Японская оптика была очень хорошей, а 15-метровые модели имели самую большую базу среди себе подобных всех флотов. Фактически даже 10-метровый дальномер вспомогательного директора по длине базы был сравним со знаменитыми немецкими линкорными, считавшимися отличными.
2. Директоры типа 98 (японское наименование «Хойбан»).
Размещались в двух полностью закрытых башенках - одна поверх 15-метрового дальномера на главной надстройке, другая - поверх 10-метрового на кормовой надстройке. «Хойбан» выдавал значения углов вертикальной и горизонтальной наводки. Каждым из них управлял артиллерийский офицер, имевший телескопический прицел, и трое подчиненных: горизонтальный и вертикальный наводчики и оператор уровня горизонта. Коррекция уровня осуществлялась рукоятками управления по системе «слежения за указателем».
По свидетельству адмирала Угаки, находившегося на IJN Musashi в бою в заливе Лейте, на линкоре имели место проблемы с директорами, хотя ранее ни о каких затруднениях не сообщалось. Непонятно также, к чему именно относятся эти проблемы, поскольку IJN Musashi затонул раньше, чем у японцев появилась возможность открыть огонь из орудий ГК по надводным целям. На IJN Yamato же, реально стрелявшем по кораблям противника, никаких проблем с «хойбанами» не отмечалось.
3. Прибор слежения за целью типа 98 (японское наименование «Сокутекибан»).
Этот электромеханический компонент систем управления огнем японских кораблей не имел аналогов во флотах западных держав. На более старых кораблях «Соку-текибан» стоял отдельно и внешне выглядел как директор. Прибор выдавал информацию о скорости и курсе цели для вычислительного устройства. На новых линкорах он был частью главного вычислительного устройства, получал информацию от директора и решал уравнения для скорости изменения дистанции, скорости изменения пеленга и угла цели.
4. Вычислительное устройство (автомат стрельбы, компьютер) типа 98 модель 1 (японское наименование «Сагекибан»).
Японский вариант британского «столика артиллерийской стрельбы» в самом последнем исполнении стал первым японским вычислительным устройством с автоматической электронно-механической системой слежения, которая, однако, оказалась не совсем удовлетворительной. Это вычислительное устройство предназначалось для обработки данных для стрельбы при небольших углах возвышения орудий ГК (ведения огня по надводным целям). Оно состояло из трех блоков. Первый представлял собой устройство учета скорости своего корабля и цели, а также скорости изменения пеленга (целика). Его циферблаты показывали следующие данные: курс по компасу, истинный пеленг, собственную скорость, скорость цели, поправку по дистанции, указатель цели. Второй блок рассчитывал поправки на скорость ветра, отклонение снаряда и изменение дистанции. Здесь имелись циферблаты, показывающие географическую широту, силу ветра, влажность и температуру воздуха, поправку дистанции в зависимости от дня календаря, расчетное время полета снаряда. Третий блок производил расчеты коррекции углов возвышения, параллакса и осуществлял установку дистанции (прицела) и пеленга на цель (целика), а также преобразование углов горизонтальной и вертикальной наводки в удобную для передачи к орудиям форму. Его циферблаты и указатели выдавали поправку по азимуту, значение отклонения цели, изменение дистанции, значение будущей (предсказываемой) дистанции, поправку по средней текущей дистанции и до полнительное возвышение ствола орудия, (см. табл.)
| Технические характеристики автомата стрельбы типа 98 модель 1 линейных кораблей типа Yamato | |
|---|---|
| Измеряемая дистанция Максимальная дальность стрельбы Боковые отклонения Отклонения по азимуту Собственная скорость корабля Скорость цели Скорость ветра |
50 000 м 41 300 м 130-160 милов 500 милов до 36 уз до 40 уз до 40 м/с |
5. Устройство производства стрельбы тип 98.
Система управления огнем типа 98 использовалась совместно с устройством производства стрельбы того же типа 98. В целом система включала два вычислительных устройства, прибор отсрочки времени выстрела для двух и более орудий до 0,08-0,2 с после замыкания цепи (он обычно находился в центральном артиллерийском посту) и замедлители времени выстрелов для уменьшения взаимного влияния снарядов в полете. Два орудия одной установки не должны были стрелять строго одновременно, поскольку в этом случае увеличивалось рассеяние.
* * *







Сначала описанные выше ПУС проектировались только для новых линкоров, но затем их получили все линкоры и крейсера японского флота, что позволило резко улучшить результативность артиллерийской стрельбы и частично компенсировало отсутствие РЛС управления огнем. Устройство производства стрельбы обеспечивало очень небольшое рассеивание снарядов в залпе и разброс самих залпов при сохранении прицела и целика, в чем с удивлением убедились американские артиллеристы в бою в заливе Лейте.
После войны американские и британские специалисты подробно изучили оборудование СУАО линкора IJN Nagato. По их заключениям, изученные приборы были далеки от совершенства, неоправданно сложны, имели многочисленные недостатки, но... обладали высокими потенциальными возможностями. Начав «за упокой», артиллерийские спецы закончили «во здравие», порекомендовав принять их на вооружение «из-за очевидной выгоды». В общем, даже по оценкам противников, отсутствие радаров управления огнем по надводным целям в определенной степени компенсировалось превосходной кучностью залпов, и в целом стрельба японцев едва ли уступала достижениям других ведущих флотов мира. В условиях хорошей видимости японская оптика и СУАО вполне заменяли радиолокационное оборудование западных союзников. Японские корабли основных классов были хорошо подготовлены к артиллерийскому бою с надводным противником. Не совсем впечатляющие результаты стрельбы IJN Yamato в заливе Лейте во многом объясняются большими дистанциями, очень плохой видимостью (для таких расстояний) и... простым невезением.





Принципиальным недостатком японских СУАО стало отсутствие радиолокаторов, позволяющих корректировать стрельбу в условиях плохой видимости. Кроме того, стабилизаторы вертикали и гироскопы считались хуже аналогичного американского и английского оборудования.
Управление огнем главного калибра на больших углах возвышения в теории обеспечивало ведение заградительного огня по самолетам. Электронное вычислительное устройство определяло время производства выстрела путем подсчета скорости и угла цели, будущей дистанции, будущего угла прицеливания и времени полета снаряда. Такой вариант годился исключительно для ведения заградительного огня. В его основе лежала система вычислительных таблиц (карточек), при которой значения скорости, отклонения и будущей дистанции поступали к артиллерийскому офицеру, который с помощью заранее подготовленных карточек высчитывал дистанцию стрельбы, а также вертикальный и горизонтальный углы наводки. Полученная информация передавалась им в башни на циферблаты в виде данных углов наводки и установки взрывателя. Орудия наводились в вертикальной и горизонтальной плоскостях, после чего офицер определял время производства выстрела и давал в башню звуковой сигнал на открытие огня. Карточки имелись для диапазона дистанций от 3 до 24 км и для скоростей цели от 0 до 360 уз. Ясно, что при такой системе и скорострельности на больших углах возвышения не более 1,5 выст./мин по конкретной группе самолетов трудно было дать более одного залпа. Даже при постоянном угле горизонтальной наводки применять главный калибр для зенитной стрельбы было нелегко. При значительном же изменении горизонтального или вертикального угла, например, при атаке пикирующих бомбардировщиков, стрельба становилась бесполезной, поскольку обычно не хватало скорости вращения для установки ее в расчетное положение.
О ведении зенитного огня главным калибром линкоров типа Yamato имеются весьма противоречивые сведения. Американцы определяют его как «впечатляющий», однако число реально сбитых самолетов опровергает это определение. Следует, правда, отметить, что зенитные снаряды типа 3 («Сики-сан») своими зажигательными и осколочными элементами повреждали довольно большое количество самолетов противника, особенно торпедоносцев.
Для освещения целей в морском бою служили 8 больших прожекторов с размером зеркала в 1,5 м, управлявшихся дистанционно со специального поста или непосредственно из главного директора, а также 4 меньших, диаметром 60 см. В ходе войны с поступлением радиолокаторов роль прожекторов постепенно уменьшалась, в том числе и на японских кораблях. В 1944 году на IJN Yamato осталось только 6 больших прожекторов, а в 1945-м - 4. Их места (с очень хорошим обзором) заняли зенитные установки.


Радиолокационные станции обнаружения и управления огнем главного калибра
Два последних и самых совершенных линкора оснащались новейшей электроникой, имевшейся тогда в Японии. Причем сегодня нам уже трудно представить, что японцы в годы войны сильно отставали в этой области.
После достройки ни один корабль флота микадо не имел радара - пожалуй, самого важного электронного прибора последней войны. Япония значительно отставала от своих противников как в разработке радиолокаторов, так и в их тактическом использовании. Фактически к моменту решающей битвы с американским флотом в заливе Лейте в конце 1944 года японские радары едва достигли уровня английских и американских образцов 1941 года. В японском флоте радары («дэнтан», от «дэнта» - радиолокация и «тансинги» - электрическая волна, детектор или поисковый прибор) классифицировались по области применения (первая цифра в двухзначном обозначении типа):
- 1. Армейские (наземные);
- 2. Корабельные обнаружения надводных целей;
- 3. Корабельные для управления артогнем;
- 4. Армейские для управления зенитным огнем и т.д.
Вторая цифра указывала на номер модели, затем - модификацию. Первые радары были разработаны армией для обнаружения самолетов противника и получили обозначение тип 11. Они устанавливались на берегу стационарно. Затем появилась облегченная версия тип 12 для использования с подвижных установок. В январе-апреле 1942 года на ее основе разрабатывается корабельный радар тип 21, а в августе того же года на вооружение принимается радар 21 модель 1, имевший антенну «матрасного типа» тип 7 размерами 3,6 х 2 м. Через месяц был принят второй вариант 21 модель 2 с антенной 3,6 х 3 м.
В сентябре на IJN Musashi установили радар типа 21 модель 1, а с апреля 1943-го все крупные корабли японского флота стали получать радар 21 модель 2. Они оказались несовершенными и часто выходили из строя. Лишь к августу основные недостатки (трудность настройки, невозможность обеспечения плавного вращения антенны из-за огромной ее массы) были устранены.


1 - приемная решетка (стержень диаметром 10 мм); 2 - передающая решетка (стержень диаметром 10 мм); 3 - изолятор.
Первоначально японских моряков интересовало только обнаружение надводных целей, и с октября 1941 года велись работы над созданием поискового радара. Они закончились в июне 1942-го созданием установки, работавшей на сантиметровых волнах и получивший обозначение тип 22 модель 1. Этим радарам оснащались транспорты и некоторые небольшие корабли, а для крупных кораблей был разработан вариант 22 модель 4.
До боя у мыса Эсперанс, состоявшегося в ночь с 10 на 11 октября 1942 года, японцы считали, что при столкновениях в темное время суток достаточно иметь ночные бинокли, осветительные снаряды и прожекторы. Справедливости ради надо отметить, что прекрасно отработанная тактика таких боев даже в отсутствии радара позволила им некоторое время одерживать верх над лучше оснащенным противником (например, разгром, учиненный отрядом адмирала Микавы у о. Саво в ночь с 8 на 9 августа того же года), однако после боя у мыса Эсперанс, когда американцы своими радарами не только раньше обнаружили японцев, но и с их помощью этих устройств управляли артиллерийским огнем, стало ясно, что без аналогичного оборудования японским кораблям рассчитывать на победу уже не приходится.
Основываясь на конструкции захваченных в Сингапуре в феврале 1942 года британских радаров, спустя восемь месяцев армейский НИИ разработал новый вариант тип 41 - для управления зенитным огнем. На флоте аналогичные функции (но для действия по надводным целям) пытались придать радару 21. Испытания начались в августе 1942 года и продолжались до февраля 1944-го. Однако еще до их окончания, в сентябре 1943 года, радар типа 21 модель 3, не вполне доработанный, установили на IJN Yamato. При длине волны 150 см и мощности 25 кВт максимальная дальность обнаружения групп самолетов составляла примерно 120 миль, одиночных целей - 70 миль. Здоровенные «уши» «матрасной» антенны располагались на обоих плечах главного 15-метрового дальномера.
В октябре 1943 года флот начал работы над созданием радара типа 23 с двумя параболическими антеннами диаметром 1,7 м (длина волны - 58 см, мощность - 5 кВт). Он имел дальность обнаружения целей до 13 км, при этом ошибка дистанции составляла всего 50 м, ошибка по пеленгу - 1°. При таких параметрах прибор мог бы служить для управления артиллерией, хотя ошибка по пеленгу на больших дистанциях оставалась чрезмерной, давая отклонение в 3,5 кбт на дистанции 20 миль). Еще в феврале 1942 года были начаты работы над радаром управления артогнем типа 32 с двумя «усиковыми» антеннами (длина волны - 10 см, мощность - 2 кВт). Дальность обнаружения составляла 30 км, ошибка по дистанции - 100-50 м, ошибка по пеленгу - 0,5°. Но его разработка продолжалась очень долго и была завершена только в октябре 1944 года.
В результате единственным радаром, который мог быть использован для поиска надводных целей и управления огнем оказался радар на основе типа 22 модель 4 с супергетеродином. В августе-сентябре 1944-го им были оснащены все корабли 2-го флота, стоящие в Сингапуре, а на IJN Yamato он появился при модернизации в январе-апреле того же года. Локатор модели 4 работал уже в дециметровом диапазоне волн и при мощности около 2,5 кВт теоретически позволял обнаруживать линкоры на дистанции до 19 миль, крейсера - около 11 миль и эсминцы - 9 миль (фактические дистанции, полученные в результате испытаний, приведены в таблице).


С сентября 1943 по февраль 1944 года армия разработала очень надежный радар ПВО тип 13 с антенной «лестничного» типа (длина волны - 2 м, мощность - 10 кВт), позволявший обнаруживать группу самолетов с дистанции до 100 км и одиночные воздушные цели - с 50 км при ошибке по дистанции в пределах 2 - 3 км и по направлению - около 10°. Тип 13 был принят на флоте, причем без изменения обозначения. Начиная с весны-лета 1944 года им стали оснащаться все корабли - дополнительно к радару типа 21, который уже стоял на многих крупных кораблях, хотя назначение их было одинаково. Свой тип 13 IJN Yamato получил в ходе все той же модернизации в январе-апреле 1944 года.
Всего же на линкорах типа Yamato использовались радары: тип 21, модель 3 (поиск воздушных и надводных целей) - 1; тип 13 (поисковый воздушных целей) - 2; тип 22 (поисковый надводных целей) - 2.
В конце концов на обоих линкорах смонтировали по две установки каждого типа.
| Характеристики радаров | |||
|---|---|---|---|
| Тип радара | 21 | 13 | 22 |
| Место установки Рабочая длина волны, см Дальность действия, км Ошибка определения дистанции, м Ошибка определения пеленга, градусы |
Каждое плечо верхнего дальномера 150 50 2000 5 |
По бокам грот-мачты 200 50 3000 10 |
По бокам надстройки 10 40 500 3 |

В мае 1944 года РЛС этих линкоров подверглись испытаниям, которые дали следующие фактические результаты (в числителе максимальная величина, в знаменателе средняя):
| Тип радара | 22-4 | 22-2 |
|---|---|---|
| Носитель Высота антенны, м |
IJN Yamato 32,5 |
IJN Musashi 32 |
| Дальность обнаружения, км: линкора тяжелого крейсера эсминца подводные лодки |
• 17 16/10 7 |
25/10 18/16 12/9 7/6 |
| Ошибка определения: дистанции, м пеленга, град. |
400/200 3/2 |
600/200 5/2,5 |
Из таблицы видно, что характеристики японских локаторов заметно уступали стандартам союзников. Испытания показали, что японские радары нельзя использовать для управления артогнем, хотя для этой цели и пытались приспособить тип 22 модель 4. При этом счетный прибор стрельбы на низких углах возвышения типа 98 был сопряжен с радаром для определения дистанции.
Оценка

В Интернете существуют специальные сайты и форумы, посвященные одной узкой теме: чем закончилась бы встреча двух главных претендентов на титул: японского IJN Yamato и американской USS Iowa. Созданные в основном за океаном, они практически всегда и во всем отдают пальму первенства своим кораблям, причем не только USS Iowa, но и значительно меньшему по размерам USS South Dakota.
| Орудие | 460-мм/45 Type 94 | 406-мм/50 Mark 7 | 406-мм/45 Mark 6 | 380-мм/52 SK C/34 | 380-мм/45 Mod. 1935 | 356-мм/45 Mark VII | 381-мм/50 Mod. 1934 |
|---|---|---|---|---|---|---|---|
| Линкор | тип Yamato | тип Iowa | тип South Dakota | тип Bismarck | тип Richelieu | тип King George V | тип Littorio |
| Дистанция, кбт 0 25 50 75 100 125 150 175 200 |
780 - 0° 710 - 2,6° 645 - 5,8° 587 - 9,7° 539 - 14,4° 502 - 20,1° 480 - 27° 473 - 35° 486 - 44,5° |
762 - 0° 697 - 2,6° 633 - 5,9° 577 - 9,9° 531 - 14,8° 496 - 20,7° 477 - 27,4° 475 - 36,4° 493 - 46,6° |
701 - 0° 637 - 3° 579 - 6,8° 528 - 11,8° 489 - 17,8° 463 - 25,3° 455 - 34,3° 466 - 45° - |
820 - 0° 734 - 1,9° 655 - 5° 586 - 9,2° 529 - 14,4° 487 - 20,5° 462 - 27,5° 455 - 35,1° 465 - 41,6° |
830 - 0° 755 - 2,3° 685 - 4,8° 622 - 8° 568 - 12° 527 - 17,7° 497 - 23,5° 482 - 31,6° 483 - 41,5° |
754 - 0° 664 - 2,9° 586 - 6,8° 523 - 11,7° 475 - 17,8° 446 - 25,5° 438 - 34,9° 453 - 46,2° - |
850 - 0° 770 - 1,1° 699 - 3,5° 635 - 7,2° 582 - 12° 539 - 17,8° 508 - 24,5° 490 - 31,7° 485 - 39,4° |
| Вес снаряда, кг | 1462 | 1225 | 1225 | 801 | 885 | 722 | 885 |
| Вес ВВ, кг | 48,29 | 40,50 | 40,50 | 44,10 | 48,73 | 39,75 | 39,02 |
| Тип ВВ[6] | THA | Тип D | Тип D | ТНТ | ПК | Шеллит | ТНТ |
| Коэффициент мощности ВВ |
1,05 | 0,95 | 0,95 | 1 | 1,1(?)[7] | 0,96 | 1 |




Например, сильнейшие сомнения вызывает приравнивание броневой защиты японских и американских линкоров лишь на основании того, что последние имели внутренний броневой пояс, до которого снаряд доходил уже с разрушенным бронебойным колпачком. При этом игнорируется абсолютная защита японских орудийных башен на всех возможных дистанциях и очень сильное бронирование палубы, также гарантирующее от пробития на всех дистанциях, кроме очень больших. Как всегда, очень большая роль отводится электронному оборудованию, прежде всего радарному, по которому Соединенные Штаты имели несомненное и подавляющее преимущество перед своими соперниками. В результате общая оценка СУАО линкоров типа Yamato получается сильно заниженной.
Если говорить об артиллерии главного калибра линейных кораблей типа Yamato, то превосходство самых крупных по калибру 460-мм орудий перед всеми остальными — несомненно, даже с применением широко распространенных расчетных значений, явно занижающих баллистические характеристики японских снарядов. Из сравнения — орудий линкоров типа Yamato и типа Iowa ясно, что японская пушка имеет небольшое преимущество в начальной скорости на всех разумных дистанциях (кроме предельных) при примерно одинаковом угле падения. Правда, не следует забывать, что вес ее снаряда на 20% больше, чем у американского орудия. Это обеспечивает преимущество в пробиваемости как горизонтальной, так и вертикальной брони. С учетом того, что броневая защита кораблей типа Yamato по всем параметрам превышает таковую у линкоров типа Iowa, различие становится решающим. Так, зона неуязвимости «японца» лежит примерно в пределах от 67 до 170 кбт, тогда как у USS Iowa эта зона близка к нулю — американский корабль является если и не совершенно «прозрачным» для 460-миллиметровок, то, во всяком случае, близок к этому. Хваленый USS South Dakota должен либо подойти менее чем на 30 — 35 кбт, чтобы пробить его бортовую броню, либо не сближаться до 165 кбт — в надежде поразить суперлинкор через палубу, оставаясь в то же время столь же уязвимым, как и USS Iowa. Неудивительно, что японцы сделали ставку на бронебойный снаряд: он действительно позволял (во всяком случае, в теории) добиться решительного действия при удачном попадании.
Еще более безнадежно выглядят другие соперники. Следует отметить, что все бронебойные снаряды главного калибра новейших линкоров имеют «начинку» примерно одинакового веса — вне зависимости от калибра. На первый взгляд, это вроде бы уравнивает их в поражающей силе. Однако увеличение содержания ВВ с 1,5% (японские и американские снаряды) примерно до 2,5% (британские, германские и французские) приводит к снижению прочности снаряда. Несмотря на самую совершенную конструкцию, он уже не может пробивать броню чуть больше своего калибра, оставаясь в целом виде.


Поэтому корабли типа Yamato обладают практически полной неуязвимостью в бою с линкорами типа King George V, типа Bismarck или типа Richelieu. Их снаряды способны расколоть плиты пояса на близких или средних дистанциях, вызвав затопление прилегающих к броне отсеков, однако вряд ли способны приникнуть в погреб или механическую установку и разорваться там. В сочетании с 200-мм нижним поясом, прикрывающим жизненные части от подводных попаданий, линкоры типа Yamato остаются практически гарантированными от смертельных неприятностей, которые произошли, к примеру, с HMS Hood, сохраняя эту возможность для любого из своих противников.
Конечно, это не означает, что японские гиганты не могли быть более или менее серьезно повреждены в результате попаданий в небронированные части корпуса или в такие важные объекты, как директоры управления огнем. Но в артиллерийской дуэли с боевыми единицами своего класса они обладают существенным преимуществом — естественно, при условии точной стрельбы.
Здесь американские специалисты обычно акцентируют внимание на качестве своих радиолокаторов, позволявших вести стрельбу в любых погодных условиях. Артиллерийский радиолокатор безусловно является важнейшим фактором. Достаточно вспомнить бой в заливе Лейте, когда IJN Yamato вел огонь по едва видимым целям, не зная точно, по чему стреляет и не имея возможности нормально корректировать стрельбу. Однако в дуэли в хороших или даже средних условиях видимости (типа боя в Датском проливе) он едва ли уступил бы в точности даже USS Iowa, не говоря о менее крупных соперниках.




Сочетание прекрасной дальномерной оптики с вполне современными расчетными приборами и большой, устойчивой платформой делают корабли типа Yamato несомненными лидерами в дневном артиллерийском бою.
Сложнее обстоит вопрос сравнения возможностей СУАО в более сложных погодных условиях и ночью. Японские системы наблюдения и управления в ночном бою превосходили даже хорошо известные германские. Примерно до середины войны корабли типа Yamato могли вполне уверенно соревноваться с американцами в ночных стычках, правда, только на средних и малых дистанциях. Развитие радиолокационной техники склонило весы в пользу союзников - американцев и англичан, получивших возможность стрелять достаточно точно именно на больших дистанциях в тех условиях, когда оптика становилась уже полностью бесполезной.
Впрочем, радиолокаторы — одни из наиболее «подвижных» и легко заменяемых элементов оборудования, так что в несколько других обстоятельствах корабли типа Yamato в короткий срок могли бы преодолеть образовавшийся разрыв, как преодолел его французский линкор Richelieu, получивший после модернизации американское оборудование (тут же став еще одним претендентом на роль сильнейшего).
Единственным несомненным минусом 460-мм артсистемы является отсутствие в боекомплекте линкоров типа Yamato фугасных снарядов, хотя и разработанных, но все-таки не дошедших до погребов кораблей.
Таким образом, японские оружейники сделали многое (хотя, и не все возможное), чтобы линкоры типа Yamato стали действительно сильнейшими артиллерийскими кораблями мира в бою с надводным противником.
460-мм орудия Type 94 в искусстве
460-мм орудиями Type 94 вооружены представленные в игре «Мир кораблей» линкор японской ветки IX уровня Musashi и линкоры X уровня Yamato и ARP Yamato.
Приложения
- ↑ В некоторых источниках фигурируют обозначения 40-cm/45 Type 94 и 46-cm/45 Type 94, и если использование первого вполне вероятно - чтобы не выбиваться из стройной системы обозначений орудий, то использование второго маловероятно из соображений секретности окружающей все связанное с линкорами типа Yamato.
- ↑ Вероятно, в виду того, что были полностью расстреляны и не представляли интереса для специалистов.
- ↑ Серийные номера 23 и 27.
- ↑ Прибыли на полигон 6 и 7 июня 1946 года.
- ↑ 7 мая 1948 года.
- ↑ THA - тринитроанизол, ТНТ - тринитротолуол (тротил), ПК - пикриновая кислота (мелинит).
- ↑ Номинальный коэффициент мощности пикриновой кислоты (мелинита) в начинке французских снарядов следует понизить примерно на 5% за счет использования флегматизатора.
Литература и источники
Литература
- Кофман В.Л. Японские линкоры Второй мировой. «Ямато» и «Мусаси». — Война на море. — Москва: Яуза, ЭКСМО, 2006. — 128 с. — ISBN 5-699-15687-9
- Janusz Skulski The Battleship «Yamato». — Anatomy of the Ship. — London, Great Britain: Conway Maritime Press, 2004. — 192 с. — ISBN 978-0870210198
- Janusz Skulski, Stefan Draminski Battleships «Yamato» and «Musashi». — Anatomy of the Ship. — London, New York: Conway Bloomsbury, 2017. — 336 с. — ISBN 978-1-8448-6317-4
- Friedman N. Naval weapons of World War one. — Barnsley, UK: Seafort Publishing, 2011. — EPub с. — ISBN 978-1-84832-100-7
- Campbel J. Naval weapons of World War two. — Annapolis, Maryland, USA: Naval Institute Press, 1985/2002. — 406 с. — ISBN 0-87021-459-4
- Патянин С.В., Дашьян А.В., Балакин К.С., Барабанов М.С., Егоров К.В. Все крейсера Второй Мировой. — Война на море. — Москва: Яуза, ЭКСМО, 2012. — 512 с. — ISBN 5-699-19130-5
- Балакин С.А, Дашьян А.В., Патянин С.В., Токарев М.Ю., Чаусов В.Н. Линкоры Второй мировой. Ударная сила флота. — Война на море. — Москва: Яуза, ЭКСМО, 2012. — 256 с. — ISBN 978-5-699-18891-6
- Балакин С.А, Дашьян А.В., Морозов М.Э. Авианосцы Второй мировой. Новые властелины океанов. — Война на море. — Москва: Яуза, ЭКСМО, 2012. — 256 с. — ISBN 5-699-17428-6
- Дашьян А.В., Патянин С.В. Митюков Н.В, Барабанов М.С., Иванов В.В, Гайдук А.А Флоты Второй Мировой. — Москва: Эксмо, Яуза, 2009. — 608 с. — ISBN 978-5-699-33872-6
Ссылки
- dreadnoughtproject.org(англ.)
- www.navweaps.com(англ.)
- www.shipbucket.com(англ.)
- www.german-navy.de(англ.)
- Naval History and Heritage Command(англ.)
- www.naviearmatori.net(ит.)
- www.associazione-venus.it(ит.)
- Kreiser
- forums.airbase.ru
- www.airwar.ru
- pvo.guns.ru
- seawarpeace.ru
- tsushima.su


































