381-мм орудие Mk I
История создания


Когда 23 октября 1911 года Черчилль получил портфель Первого Морского Лорда, состав кораблестроительной «Программы 1912 года» был уже подготовлен. Для Королевского флота должны были быть заложены три линкора, один линейный крейсер, три легких крейсера и двадцать эскадренных миноносцев - проекты этих кораблей ждали окончательного одобрения Кабинетом министров в феврале и представления в марте в Парламенте. Однако, судьба проектов линкоров и линейных крейсеров была довольно неопределенна. Уже были построены десять дредноутов, вооруженных 305-мм орудиями[1], и в постройке находилось уже 12 линкоров с 343-мм/45 орудиями Mark V[2]. Хотя главный калибр немецких линейных кораблей типа Kaiser должен был состоять из 305-мм/50 орудий SK L/50, концерн Круппа уже предлагал 350-мм орудия с длиной ствола в 40, 45 и 50 калибров, и появились сообщения, что корабли типа König должны были иметь водоизмещение 27 000 т и главный калибр из 350-мм/45 орудий SK L/45. И Япония, и Америка строили корабли с 356-мм орудиями. Казалось, наступил момент для следующего прыжка в калибре орудий.
Увеличение калибра орудий на 1,5 дюйма - с 12 до 13,5 (с 305 до 343 мм) - означало скачок в весе снаряда со 385,6 кг до 567/635 кг[3], следующая прибавка в 1,5 дюйма - до 15 (до 381 мм) приведет к появлению снаряда, вес которого составит 870 кг, и корабль с такими орудиями будет иметь огромный бортовой залп. Но перепроектирование кораблей программы 1912 года на такие орудия означало существенное увеличение их размеров и соответственно стоимости. Более того, нельзя было медлить с проектом новых орудий - и сами орудия, и станки, и башни для них должны быть изготовлены как можно скорее.
Проектирование

Артиллерийский Совет быстро разработал проект 381-мм орудия, которое взялась изготовить фирма «Armstrong» на своем дочернем заводе «Elswick Ordnance Company» в Ньюкасле[4], но вопрос об изготовлении пробного орудия для испытаний не стоял - это означало потерю целого года, однако, в случае неудачи, новые корабли были бы вооружены 343-мм орудиями. Некоторые ответственные лица считали, что лучше потерять год и избежать риска получить неудачные и неэффективные орудия, испортив таким образом новые корабли. Как вспоминал Черчилль:
| Я пошел к лорду Фишеру. Он был тверд и даже неистов в своей защите. Поэтому я скрепил свое сердце и сделал решительный шаг. Незамедлительно был заказан целый комплект орудий. Мы договорились, что будут приложены исключительные усилия и одно орудие построят за четыре месяца, раньше других, чтобы испытать его на дальность и точность стрельбы и выработать таблицы дальностей и прицелов и другой комплекс приборов, а также инструкции, которые зависели от результатов стрельбы. С этого момента мы были поглощены вопросами главного вооружения, и каждая деталь в наших судах, а их были тысячи, была перепроектирована под эти орудия. |
Первое орудие, официально заявленное как «14-inch experimental»[5], продемонстрировало блестящие результаты и выбрасывало 870,9-кг снаряд на расстояние 32 000 метров, показав замечательную точность стрельбы на всех дистанциях без деформации канала орудийного ствола. Только с официальным принятием на вооружение в 1915 году, одновременно с введением в строй HMS Queen Elizabeth - первого линейного корабля, вооруженного этой артсистемой, орудие получило свое наименование - 15-inch Mk I («15-дюймовое (381 мм) орудие модели I (один)»).
Конструкция

Ствол состоял из основной трубы «А», внутренней стале-никелевой трубы «А» (лейнера), на которую по всей длине в несколько слоев наматывалось несколько километров стальной проволоки квадратного сечения[6], а с казенной части крепилось затворное кольцо, внешней трубы (трубы «В») и наружного кожуха. Затвор - поршневой, системы Веллина с гидравлическим приводом запирания оригинальной конструкции «Vickers»[7][8].

Примечание: 1 - кольцо затвора, 2 - казенник, 3 - кожух ствола, 4 - проволочная намотка, 5 - внутренняя труба «A», 6 - труба «A», 7 - внешняя труба «B», 8 - стопорное кольцо, 9 - поршневое гнездо, 10 - муфта, 11 - зарядная камора, 12 - начало нарезки, 13 - кольцевые выступы для соединения с салазками станка.
42-калиберное 381-мм орудие модели Mark I имело полную длину 16 250 мм (42,65 калибра), длину ствола - 16 002 мм (42,00 калибра), длину нарезной части - 13 115 мм (34,42 калибра) и вес - 101 605 кг включая вес затвора[9]. Объем зарядной каморы - 502,3 литра. Ствол имел 76 нарезов, размерами 2,16×11,30 мм, постоянной крутизны - 1 оборот на 30 калибров. Рабочее давление пороховых газов в стволе - 3150 кг/см². Длина отката - 1170 мм. Скорострельность - около 2 выстрелов в минуту, при паспортном цикле стрельбы - 32 секунды. В 1917 году на одном из кораблей тренированным расчетом был достигнут цикл стрельбы в 30,2 секунды. Реальная боевая скорострельность - 1,5 выстрела в минуту.
Живучесть ствола - 335 выстрелов бронебойными снарядами, 250 - фугасными. Снижение для фугасных снарядов показателя живучести вызвано тем, что более длинный корпус и большая продольная инерция могли привести к неустойчивому полету, если нарезка была слишком изношена. На эрозию ствола сильно влиял размер заряда: выстрел 3/4 заряда вызывали лишь 1/4 выгорания от полного заряда. Орудия калибра 381 мм обычно отправлялись на ремонт (лейнирование), когда износ достигал 0,74 дюйма (19 мм) в точке на расстоянии одного дюйма (25,4 см) от начала нарезки (со стороны зарядной каморы).
Ремонт (лейнирование) выполнялся на фирмах-изготовителях орудий путем замены внутренней стале-никелевой трубы «А» (лейнера). Перед этим выполнялось полное обследование на предмет дефектов других компонентов ствола.
Производство

Полигонные испытания проводились одновременно с развертыванием крупномасштабного серийного выпуска. Впервые орудие 381-мм/42 орудие Mark I произвело выстрел в конце 1912 года. В середине 1913 года к нему присоединился второй ствол. Они использовались для отработки боеприпасов и выработки таблиц стрельбы. Впоследствии, одно из них было расстреляно для определения живучести ствола.
Всего с 1912 по 1918 год было произведено 186 381-мм/42 орудий. Производство велось сразу на нескольких заводах:
- «Elswick Ordnance Company», Эльсвик, Ньюкасл - 34 шт;

- «Armstrong Whitworth», Опеншоу, Манчестер - 12 шт;
- «William Beardmore & Company», Паркхед, Глазго - 37 шт;
- «Coventry Ordnance Works», Ковентри - 19 шт;
- «Royal Gun Factory», Вулвич - 33 шт;
- «Vickers Ltd.», Шеффилд - 49 шт.

При ремонте кораблей изношенные стволы снимались и сразу заменялись на новые, хранившиеся в арсеналах. А снятые орудия отправлялись на ремонт и далее на хранение. Поэтому орудийный ствол за полвека службы, как правило, оказывался на нескольких кораблях. Например, башни с 381-мм стволами последнего британского линкора HMS Vanguard были взяты с переоборудованных в авианосцы легких линейных крейсеров HMS Courageous и HMS Glorious, но из восьми орудий только одно начало свою службу на этих кораблях, и то его «предыдущим местом службы» был HMS Warspite.
Боеприпасы
Выстрел 381-мм/42 орудия Mark I состоял из снаряда и зарядов, упакованных в шелковые картузы.
Снаряды
В боекомплект 381-мм/42 орудие Mark I входили снаряды с радиусом оживала головной части в 4 калибра и одинаковым весом 871 кг:
- APC Mark Ia (4 клб.) - бронебойный снаряд с броневым наконечником, длиной 1384 мм и начиненный 27,4 кг лиддита[10];
- CPC 4 crh - полубронебойный (Common) снаряд с бронебойным наконечником, длиной 1608 мм и начиненный 58,8 кг первоначально черного пороха[11], затем «TNT»[12];
- HE 4crh - фугасный снаряд, длиной 1623 мм и начиненный 98,2-101,6 кг лиддита;
- Shrapnel 4crh - шрапнельный снаряд, длиной 1623 мм и начиненный стальной дробью весом по 49,6 грамма каждая.

Весной 1918 года на вооружение поступили т.н. «Greenboy» (окрашенные в зеленый цвет) - 381-мм бронебойные снаряды APC Mark IIIa с бронебойным наконечником, длиной 1420 мм, весом 866,4 кг, начиненный 20,5 кг шеллита[13]. В том же 1918 году на вооружение 381-мм орудий мониторов был принят фугасный снаряд HE 8crh с радиусом оживала головной части в 8 калибров. Это были стандартные 4-калиберные фугасы HE 4crh, но с дополнительным баллистическим обтекателем весом 20 кг (общий вес снаряда - 891 кг), обеспечивающий увеличение дальности стрельбы но 3 000 ярдов (2 730 м) по сравнению со стандартными снарядами. Снаряды HE 8crh имели длину 1900 мм и содержали 101,6 кг лиддита.
Кроме того, к 381-мм/42 орудиям имелся практический снаряд, представляющий собой бронебойный APC Mark Ia в инертном исполнении[14].
Уже после окончания Первой Мировой войны, в 1920 году[15], на вооружение был принят бронебойный снаряд с радиусом оживала головной части в 4 калибра модели APC Mark Va, ставший с идентичным ему APC Mark VIIa[16], основой боекомплекта линкоров и линейных крейсеров. Вес снарядов обеих моделей - 869,5 кг, длина 1420 мм, начиненные 20,5 кг шеллита.

В 1938 году на вооружение были приняты снаряды с радиусом оживала головной части в 6 калибров, весом 879 кг:
- APC Mark XVIIb и APC Mark XXIIb - бронебойные снаряды с броневым наконечником, длиной 1651 мм и начиненные 22 кг шеллита[17];
- HE Mark VIIIb - фугасный снаряд, длиной 1702 мм и начиненный 59 кг «TNT» или «RDX»[18].
Первоначально эти снаряды входили в боекомплект линейных кораблей и крейсеров HMS Warspite, HMS Renown, HMS Valiant и HMS Queen Elizabeth, т.е. только кораблей с модернизированными башенными установками Mark I/N или Mark I*/N. Это было связано с тем, что оборудование подачи снарядов на немодернизированных кораблях не могло вместить более длинный (примерно на 230 мм) снаряд. Корабли, башни которых не прошли модернизацию вместо снарядом с радиусом оживала головной части в 6 калибров, получили вместо них снаряды моделей APC Mark XIIa и APC Mark XIIIa с тем же корпусом, но с более коротким баллистическим обтекателем с радиусом в 4 калибра, аналогичным более старым APC Mark Va - снаряды были тяжелее за счет толстого бронебойого наконечника с более тупым носом радиусом 1,3 калибра, но они были той же длины (1420 мм), что и более ранние снаряды Mark Va. После окончания модернизации в середине 1940 года, HMS Barham был вооружен снарядами с радиусом оживала головной части в 6 калибров, а остальные корабли были модифицированы для их использования с конца 1941 до середины 1943 года. HMS Hood, HMS Royal Oak и HMS Repulse никогда не использовали «длинные» снаряды, поскольку все они были потоплены до того, как были проведены необходимые модификации.

Во время Второй Мировой войны был введен снаряд «K» - Mark Ib K T[19], который содержал краситель для окрашивания водяного столба разрыва от снаряда. Снаряды имели дополнительный взрыватель и небольшой разрывной пороховой заряд для рассеивания красителя. Эти дополнения увеличили вес бронебойного снаряда до 882 кг (на 3 кг). Корабли действующего флота имели следующие цвета (приказ по флоту от 20 июня 1946 года): HMS Queen Elizabeth - красный, HMS Valiant - зеленый, HMS Vanguard - желтый, HMS Renown - нет (белый).
Заряды
Полный заряд выстрела 381-мм/42 орудия Mark I состоял из четырех четвертьзарядов общим весом 194 кг, упакованных в двойные шелковые картузы. Метательный состав - кордитный[20] порох марки «MD45»[21].
В 1927 году для 381-мм/42 орудия Mark I был принят заряд, на основе нового пороха - «SC 280»[22]. Общий вес заряда был немного увеличен (четыре четверьзаряда общим весом 196 кг), однако габариты пороховых картузов остались прежними и не потребовали переделки систем подачи.
В том же 1927 году, или чуть позже, был принят «усиленный» заряд из пороха «SC 300»[23] - в картузах тех же размеров умещался порох общим весом 222,2 кг. С принятием «усиленного» заряда, 196-кг заряд пороха «SC 280» стал именоваться «стандартным».
Боезапас
Боезапас линкоров типа Queen Elizabeth, типа Royal Sovereign и линейных крейсеров типа Renown первоначально включал только бронебойные снаряды: линейные корабли по проекту имели 100 снарядов на орудие, крейсера - 120.
Позже боекомплект линейных крейсеров типа Renown нес по 60 бронебойных и полубронебойных снарядов на ствол, затем 72 бронебойных и по 24 полубронебойных и фугасных снарядов, а в конце Первой Мировой войны - 84 бронебойных и 36 полубронебойных снарядов на орудие. Легкие линейные крейсера типа Courageous первоначально проектировались под боекомплект в 80 снарядов на орудие, однако, под влиянием Фолклендского боя, где британские линейные крейсера израсходовали две трети боекомплекта, погреба кораблей были перепроектированы для размещения 120 снарядов на орудие. После вступления в строй боекомплект главного калибра кораблей типа Courageous состоял из 72 бронебойных и по 24 полубронебойных и фугасных снарядов, но к середине 1917 года все фугасные снаряды были заменены на полубронебойные, а сразу после окончания Первой Мировой войны на каждое орудие приходилось 36 бронебойных и 84 полубронебойных снарядов на орудие.
По разным сведениям линейные корабли имели боекомплект при вводе в строй - 104 снаряда на орудие. В 1920-х годах на большинство линкоров было добавлено по 6 шрапнельных снарядов на орудие, а боекомплект линейных крейсеров типа Renown состоял из 96 бронебойных, 24 полубронебойных и 6 шрапнельных снарядов на орудие плюс 70 учебных снарядов на корабль.
| Таблица стрельбы бронебойным снарядом APC Mark Ia с использованием заряда «MD45» или «SC 280» | |||
|---|---|---|---|
| Угол возвышения ствола |
Дальность стрельбы |
Скорость падения |
Угол падения |
| 1,0° 2,6° 5,0° 5,9° 10,0° 10,1° 15,0° 15,6° 20,0° 22,5° 30,1° |
1 756 м 4 570 м 7 980 м 9 140 м 13 582 м 13 720 м 18 020 м 18 290 м 21 702 м 22 860 м 26 520 м |
н/д 632 м/с н/д 541 м/с н/д 468 м/с н/д 420 м/с н/д 401 м/с 404 м/с |
1,0° 3,0° 6,0° 7,3° 13,0° 13,6° 21,0° 22,3° 29,0° 32,7° 42,0° |
По завершении строительства линейный крейсер HMS Hood нес в погребах 289 бронебойных, 672 полубронебойных снарядов и 30 шрапнелей (хранившихся в носовых погребах), а также 82 учебных снарядов. После ремонта в 1929-1931 гг. он имел 160 бронебойных, 640 полубронебойных, 48 шрапнелей и 96 учебных снарядов. На трех последующих крейсерах типа Admiral боекомплект был уменьшен до 110 снарядов на орудие для башен «A» и «B» и до 100 снарядов для башен «X» и «Y» из-за перепланировки погребов боекомплекта. Во второй половине Второй Мировой войне сохранившиеся корабли имели по 20 бронебойных, 75 полубронебойных и 5 фугасных снарядов на орудие. Кроме того, имелись до 48 шрапнелей и 96 учебных снарядов на корабль. Если корабль отправлялся на бомбардировку береговых целей, то в этом случае доля фугасных снарядов была значительно увеличена.
Прошедшие модернизацию в середине-конце 1930-х гг. линейные корабли HMS Queen Elizabeth, HMS Valiant и HMS Warspite имели в боекомплекте модернизированных 381-мм установок Mark I/N, по разным данным, от 10 до 20 процентов «усиленных» пороховых зарядов.
Боекомплект мониторов в Первую Мировую войну составлял 10 полубронебойных и 90-100 фугасных снарядов на орудие, в то время как во Второй Мировой войне - от 30 до 60 бронебойных или полубронебойных снарядов, а остальные фугасные. Также мониторы обычно несли по 8 учебных снарядов на орудие.
Последний британский линейный корабль HMS Vanguard при вводе в строй имел 95 бронебойных, 5 фугасных и 9 учебных снарядов на орудие.
Баллистика
381-мм снаряды периода Первой Мировой войны имели начальную скорость - 752 м/с, снаряды межвоенного периода со «стандартным» зарядом - 749 м/с[24], при стрельбе «усиленным» зарядом из «новых» (недавно отремонтированных) стволов - до 804 м/с.
| Таблица стрельбы бронебойным снарядом APC Mark XVIIb с использованием заряда «SC 280» | |||
|---|---|---|---|
| Угол возвышения ствола |
Дальность стрельбы |
Скорость падения |
Угол падения |
| 2,6° 5,6° 9,3° 13,8° 19,2° 26,1° 30,5° |
4 570 м 9 140 м 13 720 м 18 290 м 22 860 м 27 430 м 29 720 м |
653 м/с 582 м/с 521 м/с 474 м/с 445 м/с 437 м/с 441 м/с |
2,7° 6,6° 11,7° 18,3° 26,3° 35,6° 40,7° |
Дальность стрельбы бронебойными снарядами при максимальном угле возвышения 20° в корабельных башнях - 21 700 м (117,2 кабельтова) снарядами с радиусом оживала головной части в 4 калибра, 23 000 м (124,2 кабельтова) при стрельбе «длинными» снарядами периода Второй Мировой войны. После модернизации, угол возвышения стволов увеличен до 30° - 26 520 м (143,2 кабельтова) и 29 720 м (160,5 кабельтова) соответственно. При стрельбе «усиленным» зарядом снарядами с радиусом оживала головной части в 6 калибров дальность увеличивалась до 26 273 м (141,9 кабельтова) при угле возвышения 20°, 33 380 м (180,2 кабельтова) при 30° и 40 370 м (218 кабельтовых) при максимальном угле возвышения стволов береговых установок в 50°.
Результаты испытаний, проведенных перед Первой Мировой войной, были изложены в «Меморандуме контролеру» от 24 октября 1910 года. Относительно бронепробиваемости говорилось, что 12-дюймовые бронебойные снаряды, попавшие под углом более 20 градусов, вряд ли смогут пробить даже 4-дюймовую (102 мм) броню «КС» (с лицевой закалкой)[25], а при попадании в 6-дюймовую (152 мм) броню «КС» под углом 30 градусов, скорее всего, разрушатся. Относительно снарядов других калибров, как принятых на вооружение, так и разрабатываемых, было выражено сожаление, что они имеют аналогичную конструкцию, баллистику и, весьма вероятно, имеют аналогичные недостатки в большей или меньшей степени.

Это подтвердили и оба линейных сражения Первой Мировой войны: Бой у Доггер-банки и Ютландское сражение - на дальних дистанциях боя, попадания снарядов в борт под большими углами взрыв происходил фактически снаружи. Это оказалось весьма неприятным сюрпризом[26], так как испытания своих снарядов на полигонах британцы проводили при углах, близких к прямому. В результате часто британские снаряды вовсе не пробивали брони, а если и пробивали, то но причиняли значительных разрушений.
Согласно составленной по результатам испытаний таблицы бронепробиваемости, для бронебойных снарядов она составляла 457 мм у дульного среза, 406 мм на дистанции 8000 м, 305 мм на 13 580 м, 279 мм на 18 000 м и 229 мм на максимальной дальности.
Орудийные установки
Линейные корабли типа Queen Elizabeth и типа Royal Sovereign



Двухорудийные 381-мм башни Mark I сохранили преемственность конструкции британских артиллерийских установок - за основу при проектировании взяли двухорудийную 343-мм башню Mark II. Общий вес 381-мм башни Mark I линейных кораблей типа Queen Elizabeth и типа Royal Sovereign составлял 782 т.
Поворотная часть каждой 381-мм башни Mark I вращалась на 48 катках по погону, который крепился на опиравшейся на настил второго дна цилиндрической основе. Вращение башни приводились в действие гидравликой от кольцевой магистрали с использованием смеси воды и растворимого масла. В системе использовались три гидравлических насоса с паровым приводом. Подъем 381-мм/42 орудий осуществлялся с помощью гидравлического цилиндра, соединенного с ползуном. Гидравлический привод обеспечивал горизонтальное вращение со скоростью 2 град./с. Горизонтальные сектора обстрела - 300° (±150° от диаметральной плоскости). Максимальная скорость вертикальной наводки составляла 5 град./с. Диапазон вертикального наведения орудий - -5°...+20°. Заряжение могло осуществляться на любом углу возвышения вплоть до +20°. Диаметр башенного барбета равнялся 9296 мм, поворотной орудийной платформы 11000 мм. По первоначальному штату, расчет каждой башни насчитывал 64 человека[27]. Каждая башня имела встроенный дальномер с базой 4,57 м и открытое визирное устройство для стрельбы прямой наводкой.
Высота от настила зарядного погреба до орудийной платформы составляла 20 м. Подача боеприпасов к орудиям осуществлялась в два этапа. Сначала снаряд доставлялся транспортером из снарядного погреба в нижнее перегрузочное отделение, где он попадал в лоток подъемника. Затем снаряд поступал в нижнее перегрузочное отделение зарядного погреба, где в лоток догружались четыре четвертьзаряда. Далее снаряд с четвертьзарядами поднимался в

расположенное непосредственно под боевым отделением башни рабочее перегрузочное отделение, где и завершалось комплектование выстрела. Только после этого гидравлический подаватель по специальным изогнутым направляющим поднимал снаряженный выстрел в боевое отделение башни на линию заряжания. С помощью цепного прибойника выстрел досылался непосредственно в камору ствола, закрывался затвор, и разобщенный с орудием подаватель уходил вниз за новым выстрелом.
Защита 381-мм башен главного калибра линейных кораблей типа Queen Elizabeth и типа Royal Sovereign состояла из 330-мм лобовых плит, 254-мм передних бортовых, 229-мм задних бортовых, 279-мм тыловой плиты, 102-мм крыши, 25-мм пола в задней части башни.[28].Стволы в башне отделены друг от друга бронированной перегородкой толщиной 25 мм. Бронирование барбетов было дифференцированно, достигая 254 мм на передней части барбета башни «А» и на обращенных к борту стенках остальных башен.

На менее ответственных участках выше уровня верхней палубы толщина барбетов уменьшалась до 229-178 мм, ниже ее - до 152 мм, а между главной и средней палубами - до 102 мм[29].

Стоимость 381-мм башни Mark I составляла 116 000 фунтов стерлингов за установку и еще 32 000 фунтов стерлингов за два 381-мм/42 орудия Mark I.
Линейные корабли типа Queen Elizabeth и типа Royal Sovereign были вооружены восемью 381-мм/42 орудиями Mark I в четырех башнях, расположенных парами линейно-возвышенно в оконечностях кораблей. Высота осей орудий башни «А» над ватерлинией составляло 9,45 м, башни «B» - 12,2 м, башни «X» - 9,45 м, башни «Y» - 6,71 м. Со временем, после проведения различных для каждого корабля модернизаций, высота орудий над ватерлинией, даже в пределах одного типа Royal Sovereign варьировалось в довольно широких пределах.
Линейные крейсера типа Renown и легкие линейные крейсера типа Courageous



Линейные крейсера типа Renown были вооружены шестью 381-мм/42 орудиями Mark I в трех башнях. Башни «A» и «B» были расположены линейно-возвышенно в носовой оконечности, «Y» - в кормовой. На HMS Repulse носовые башни были модели Mark I, а кормовая и все три башни HMS Renown - модели Mark I*. Обозначение * в модели башни обусловлено наличием в системе подачи и в погребах огнезащитных дверей-захлопок, а не ослабленным бронированием. Возвышение осей орудий над водой (при проектном водоизмещении 26 500 т) составляло для башен «A», «B» и «Y» соответственно 10,66 м, 13,73 м и 7,01 м.
На фоне крайне слабо бронированного корпуса линейных крейсеров типа Renown защита 381-мм башен главного калибра выглядела несколько приличнее, оставаясь на уровне предыдущих четырех «кошек», заметно уступая линкорам типа Queen Elizabeth и типа Royal Sovereign, вооруженным теми же 381-мм орудиями в аналогичных башнях.
На линейных крейсерах толщина лобовой плиты равнялась 229 мм (против 330 мм у линкоров), а боковых - 178 мм (против 254 мм). Столь же «урезанной» являлась защита барбетов, уступавшая принятой на линкорах примерно в такой же пропорции - 178 мм (против 254 мм). При этом наибольшую 178-мм толщину барбеты имели только на открытых участках: выше палубы полубака для башни «В» и до верхней палубы для башни «А». Ниже, вплоть до броневой палубы, шли 102-мм плиты, а барбет башни «А» сзади брони не имел вообще. 178-мм плиты барбета кормовой башни «Y» простирались до главной бронепалубы, ниже ее утоньшаясь до 102 мм. Примечательно, что защита барбетов не подвергалась модернизациям в ходе всей службы крейсеров.
Артиллерия главного калибра легких линейных крейсеров типа Courageous состояла из четырех 381-мм/42 орудий Mark I в двух двухорудийных башенных установках модели Mark I*, таких же как на типа Renown, расположенных в носовой и кормовой оконечностях корабля и получивших обозначение «А» и «Y», с секторами обстрела в 300° (±150° от диаметральной плоскости). Высота осей орудий над уровнем ватерлинии при нормальном водоизмещении составляла для башни «А» 10,06 м, для «Y» - 7,01 м.

Линейный крейсер HMS Hood типа Admiral

Одним из немногих элементов линейного крейсера HMS Hood, не подвергшихся критике и изменениям в процессе проектирования, являлась его главная артиллерия, состоявшая из тех же 381-мм/42 орудий Mark I, что и последних типах линейных кораблей и крейсеров. Это чрезвычайно удачное орудие и его надежная и весьма совершенная установка перекочевали на самый большой корабль мира в практически неизменном виде. Главное усовершенствование заключалось в увеличении дальности стрельбы. По опыту Ютландского сражения башенные установки Mark I с их максимальным углом возвышения +20°, позволявшие стрелять на 117-124 кабельтовых, признали недостаточно дальнобойными. Поэтому на новой модели Mark II, предназначенной для HMS Hood, угол возвышения увеличили до +30°[30]. Старая установка позволяла заряжать орудие при любом угле возвышения, вплоть до максимального. Обеспечить это в новой модели Mark II оказалось слишком сложно: качающаяся дуга с устройством подачи и прибойником при увеличении подъема ствола уходила вниз, занимая ценный объем в подбашенном отделении. Но главное - 381-мм снаряд при наклоне каморы в +30° имел опасность вывалиться назад. Можно было попытаться досылать снаряд с большей силой, однако, в этом случае требовались очень мощные и массивные механизмы для прибойника, но оставалась опасность, что ведущие пояски могут не удержать тяжелый 879-кг снаряд. Впрочем, само обеспечение заряжания на максимальных углах возвышения не являлось настолько уж необходимым. Стрельба на больших углах возвышения - на предельных дистанциях - крайне редко могла вестись с максимальной скорострельностью, из-за большого времени полета снаряда и малой вероятности попадания.

Поэтому механизмы в установке Mark II остались такими же, как в предшествующей модели Mark II, и заряжание орудий могло производиться при углах возвышения до +20°. Поскольку теперь появлялась возможность в процессе заряжания выйти за этот предел, что могло привести к сбою в цикле заряжания или, что хуже, к выпадению снаряда из казенной части, в новых установках смонтировали систему блокировки, отключающую механизм вертикального наведения на углах возвышения +20°...+30° при открытом затворе. Заодно ввели еще одну цепь блокировки, позволяющую поднимать лоток для заряжания в верхнее положение только при полностью открытом затворе. Максимальная скорость вертикального наведения башен составляла 5° в секунду, скорость горизонтального наведения не превышала 2° в секунду. Механизмы горизонтальной и вертикальной наводки приводились в действие гидравлическими приводами. Соответствующее оборудование каждой башни включало индивидуальную гидравлическую систему, основу которой составлял насос с паровым приводом. Рабочей жидкостью по-прежнему оставалась вода. Довольно объемную гидравлику было невозможно разместить внутри барбетной брони, поэтому она располагалась снаружи, но практически по диаметральной плоскости, как можно дальше от бортов.


Этим изменения в конструкции башен, связанным с увеличением возвышения стволов, не ограничились. Прорези в лобовой плите пришлось сделать более высокими, и соответственно, увеличилась и высота самой плиты чтобы сохранить ее прочность. Увеличение диапазона вектора отдачи потребовало подкрепить люльки орудий и всю вращающуюся структуру установки. В конструкции самого 381-мм/42 орудия Mark I был введен пневматический накатник с воздушным компрессором, что на практике увеличивало скорость стрельбы, поскольку полный цикл заряжания и производства выстрела мог осуществляться в более щадящем режиме для приводившей в действие механизмы башни гидравлики.
В подбашенной структуре установки Mark II уже по проекту предусматривались автоматически закрывающиеся дверцы в рабочем и перегрузочном отделениях. Предполагалось, что они смогут предотвратить распространение пламени в случае возгорания зарядов между башней и перегрузочным отделением, колодцем подачи и самим погребом. Однако, на самом деле никакой гарантии в том, что достаточно тонкие дверцы-шторки не будут деформированы или просто вышиблены газами при одновременном горении нескольких зарядов с весом пороха в сотни килограммов, не было.

Башни HMS Hood представляли собой немного измененный вариант башен линейных кораблей типа «R». Они имели по 11 граней, толщина которых варьировалась в зависимости от угла наклона в горизонтальной и вертикальной плоскости. Лобовая плита имела толщину 381 мм, примыкавшие непосредственно к ней скошенные передние боковые стенки 305 мм, задние боковые стенки и задняя стенка 280 мм. Середина лобовой плиты опиралась на 432-мм плиту из гомогенной (нецементированной крупповской) брони, в свою очередь, соединявшуюся с нижними плитами башни. Настил пола в задней части башни имел толщину 76-мм. Плитами гомогенной брони прикрывались также участки «крыши» круглого барбета в тех местах, где они выступали за границы многоугольной башни.
Наибольшему изменению подверглась крыша башен - на HMS Hood она стала практически плоской, со своеобразным «перегибом» по центральной линии, немного спускаясь к боковым стенкам и составлялась из трех 127-мм плит той же гомогенной брони.[31]
На HMS Hood выступающие над палубой части барбетов всех башен имели одинаковую толщину в 305 мм. Но ниже, где снаряду до попадания в барбет предстояло преодолеть несколько преград, продолжала господствовать идея защиты, дифференцированной как по высоте, так и по положению (в зависимости от степени экранирования другими элементами защиты). Барбет башни «A» имел толщину от 254 до 152 мм в промежутке между палубой полубака и верхней палубой - тонкая броня располагалась за 102-мм траверзом, дававшим в сумме те же 254 мм. Ниже, за 127-мм поясом, толщина плит снижалась до 127 мм. Передняя часть барбета имела толщину 63 мм до нижней палубы. Как видно, система предполагала одинаковую суммарную толщину защиты - 254 мм. Аналогичный принцип применялся и к остальным барбетам.

У башни «B» он имел 152 мм толщину от полубака вниз до верхней палубы и 127 мм от верхней до главной. Барбет башни «X» состоял из 152-мм плит вплоть до главной палубы, где защита переходила к главному поясу. У башни «Y» барбет имел толщину 305 и 229 мм до главной палубы в открытых местах и 152 мм там, где он находился за 102-мм траверзом и 178-мм поясом, и 127 и 51 мм в оответствующих секторах на расстоянии от верхней палубы до нижней. Еще ниже подачные трубы малого диаметра имели 19-мм стенки[32].
Для увеличения прочности крыш, ставших по опыту Ютландского сражения настоящей «ахиллесовой пятой»» всех башен, с них убрали колпаки наводчиков с прицелами, ослаблявшие плиты. Прицелы перенесли на лобовую плиту, и так ««продырявленную» орудийными портами, но зато имевшую значительную толщину. Прежние 4,57-м дальномеры в башнях заменили на вдвое более длинные, с базой 9,15 м.
Восемь 381-мм/42 орудий Mark I линейного крейсера HMS Hood были установлены в четырех башнях, расположенных парами линейно-возвышенно в оконечностях корабля. После окончания постройки в полном грузу высота осей орудий над ватерлинией составляло для башни «А» 9,75 м, для «B» - 12,3 м, для «X» - 9,3 м и для «Y» - 6,24 м. Они могли стрелять при любом состоянии моря, некоторые проблемы возникали только с самой нижней, четвертой башней, расположенной в районе сильнозаливаемого среза полубака. Горизонтальный угол обстрела формально составлял 300° у всех башен, причем в отличие от большинства других кораблей, орудия HMS Hood действительно могли вести огонь на очень острых углах без заметных повреждений надстроек, расположенных в этом отношении весьма удачно.
Линейный корабль HMS Vanguard

Единственным относительно честным участником Лондонской морской конференции 1936 года осталась Британия, линкоры остальных держав-участниц заметно превышали положенные 35 000 тонн, а их главный калибр составлял 380-406 мм. Честность в кораблестроительных программах не лучшим образом сказалась на боевых качествах новых линкоров флота Его Величества: пять линкоров типа King George V, вооруженных десятью 356-мм/45 орудиями Mark VII, по артиллерийской мощи проигрывали всем реальным и потенциальным противникам - за исключением, немецкой пары кораблей типа Scharnhorst. Поняв свою ошибку, англичане приступили к реализации следующего проекта, более соответствующего требованиям моряков. Линкоры типа Lion почти полностью сохранили внешний вид и все основные технические решения своих предшественников, но были крупнее и вместо 356-мм/45 пушек несли девять 406/45 орудий Mark II в трех трехорудийных башнях. Cочетание защиты и наступательной мощи давало все основания считать их полноценными «капитальными» кораблями Британского флота, но получить их английским адмиралам так и не удалось. Первые два линкора, HMS Lion и HMS Temeraire, заложили в июне-июле 1939 года, а месяц спустя началась Вторая мировая война. Постройку пришлось прервать: верфи не справлялись с выполнением заказов на новые эсминцы, эскортные и десантные суда, в которых флот нуждался в первую очередь.

Другая причина, сорвавшая постройку линкоров, - большие сроки разработки и изготовления новых артиллерийских орудий и их установок. В 1939-40 годах положение с 356-мм башнями для кораблей типа King George V было близким к критическому, а 406-мм орудие для кораблей типа Lion вообще существовало только на бумаге, в чертежах, не говоря о башенных установках. Стало ясно, что даже в случае возобновления строительства головной HMS Lion войдет в строй не раньше 1944 года, а это Адмиралтейству казалось неприемлемым - баланс сил с главными потенциальными противниками на ближайшее будущее выглядел для Англии не слишком оптимистично.


Сложившаяся ситуация заставила вспомнить про лежавшие на складах четыре 381-мм башни Mark I производства 1916 года. В свое время они были установлены на легких линейных крейсерах HMS Glorious и HMS Courageous и сняты в ходе переоборудования их в авианосцы в 1920-е годы. Проектирование нового корпуса по старые башни началось осенью 1939 года, 14 марта 1941 верфи , только 17 апреля 1940 года был выбран окончательный вариант, а 14 марта 1941 года фирме «John Brown & Co.» был выдан заказ на постройку. 2 октября состоялась официальная закладка линкора, который спустя месяц, 3 ноября, получил название HMS Vanguard.
Возврат к использованию «складских запасов», как это ни странно, имел гораздо больше положительных моментов, нежели отрицательных. Артиллерийские специалисты Морского штаба вновь получили корабль наилучшей с их точки зрения конфигурации - с 8 стволами в двухорудийных башнях, распложенных по две в носу и корме. Сами установки, обычно оценивающиеся в превосходной степени, эксплуатировались уже много лет и составляли подавляющее большинство от имевшихся на флоте линкорных башен. К достоинствам установки можно отнести высокую надежность и почти полное отсутствие отказов, хотя устройство ее было достаточно сложным. Вместе с тем установка возрастом в четверть века имела свои недостатки. Один из них был связан с самим 381-мм/42 орудием Mark I, имевшим «проволочную» конструкцию[33]. Поэтому 381-мм орудие имело относительно скромные баллистические характеристики, которые к тому же с трудом поддавались улучшению.
Другие недостатки были связаны с конструкцией башни. Толщина лобовой плиты в 229-мм, доставшейся от легких линейных крейсеров, была явно не для линкора. Слишком тонкой для защиты от навесного огня и авиабомб считалась и 114-мм крыша. Предельный угол возвышения в 20° не обеспечивал стрельбу на дистанциях свыше 12 миль. Пламянепроницаемость башни, сконструированной еще до уроков Ютландского сражения, также не отвечала меркам 1940-х годов. Установленные в башнях 4,5-метровые дальномеры (15-футовые совмещающие разработки и изготовления «Barr & Stroud») не соответствовали возросшим стандартам управления огнем.



Большинство из этих недостатков удалось устранить в ходе модернизации установки. Лобовая плита была заменена вновь изготовленной 343-мм толщины, в которой были прорезаны более высокие амбразуры, обеспечившие угол возвышения 30°. В башне применялась естественная балансировка орудий по центру тяжести, цапфы находились на достаточно большом расстоянии от наклонной лобовой плиты, хотя на казенную часть был навешен дополнительный груз-противовес. При этом порты орудий получились довольно большими, и их пришлось прикрыть сверху специальными броневыми крышками. Заменили также крышу - теперь она состояла из нецементированных крупповских плит толщиной 152 мм. С нее убрали смотровую башенку командира, которая на практике ограничивала возможности ведения огня из возвышенных установок по диаметральной плоскости, поскольку орудийные газы приводили к контузиям. Был усилен и пол башни - с 51 мм до 76 мм, что диктовалось не улучшением защиты, а вызывалось необходимостью балансировки веса установки, которая была нарушена тяжелой лобовой плитой. Сама башня и подачи оборудовались дополнительными предохранительными экранами против пламени.
Принятая ранее на линейных кораблях типа King George V и в проекте кораблей типа Lion сложная схема бронирования барбетов сохранилась и на HMS Vanguard. Барбеты всех башен, кроме носовой, на протяжении по 30° в обе стороны от диаметральной плоскости имели толщину 280 мм в направлении центра корабля. Так же бронировалась и дуга в 33° с прямо противоположной, ближайшей к оконечностям, стороны. Следующие 25° с оконечностей прикрывались 305-мм изогнутыми плитами. Боковые части, в которые с наибольшей вероятностью могли приходиться попадания под невыгодными для брони углами, близкими к нормали, имели наиболее солидную защиту - 330 мм. Барбет носовой башни защищался по той же схеме, только сектор утоньшенной брони со стороны форштевня составлял всего 20° на каждый борт, а толщина его равнялась 305 мм[34]. Зато у барбета той же башни «A» были расширены участки тонкой брони, прилегающие к следующему барбету башни «B» - общий сектор 280-мм и 305-мм брони составлял по 45° на борт. Англичане упорно продолжали свою странную традицию «кусочного» бронирования барбетов, пытаясь выиграть несколько десятков тонн, но усложняя технологию и оставляя «щели» из тонких полос, попадания в которые были хотя и маловероятными, но все же возможными.
Новые установки могли использовать модернизированные снаряды большей длины, весом 879 кг с радиусом оживала головной части в 6 калибров. Станины, цапфы и противооткатные устройства были рассчитаны на применение «усиленных» пороховых зарядов весом в 220 кг. Из-за возросшей массы вращающейся структуры установки были усилены приводы горизонтального вращения башни. Приводы вертикального наведения были заменены новыми. Обитаемость расчета установки улучшилась за счет монтажа поглотителей влаги, как в погребах, так и в остальных отделениях установки. В результате всех изменений вес башни (вместе с вращающейся подбашенной частью подачи) составил 869 т. Из них, около 70 т добавили более мощные гидравлические приводы и столько же или даже чуть больше - жидкий носитель и масло, не включенные в «итоговый вес» по первоначальному проекту. Общий вес башни с механизмами, установленными в снарядном погребе, по корабельному формуляру равнялся 904 т, из них около 200 т приходилось собственно на пушки. Максимальные скорости наводки остались прежними : горизонтальной - 2°/с, вертикальной - 5°/с.


Главным отличием от прошедших модернизацию перед началом Второй мировой войны 381-мм установок линейных кораблей типа Queen Elizabeth (HMS Queen Elizabeth, HMS Valiant и HMS Warspite) и линейного крейсера HMS Renown получивших индекс Mark I/N/Mark I*/N стало полноценное дистанционное управление башнями главного калибра - единственное в своем роде в Британском флоте, что нашло свое отражение в модели установки Mark I/N RP 12[35]. 4,5-м дальномеры уступили место дальномеру с базой 9,1 м на башне «А»[36], оборудованной в качестве вспомогательного пункта управления огнем. Башни «B», «X» и «Y», опять же впервые в Британском флоте, были оборудованы 7,47-м (24,5-футовыми) стабилизированными дальномерами «FX».
Техническая скорострельность не изменилась по сравнению с прототипом и составляла около двух выстрелов в минуту. Внутреннее устройство самой башни за 10 лет, прошедших с начала модернизаций линкоров, практически не изменилось, чего нельзя сказать об устройстве подачи. Недостатком конструкции установки 25-летней давности, было расположение зарядных и снарядных погребов. Во времена создания 381-мм башни Mark I погреба снарядов находились у самого днища корабля, а зарядные погреба - над ними. Ко Второй мировой войне стандартным стало прямо противоположное размещение. Конструкторы стремились удалить чрезвычайно опасные кордитные заряды как можно дальше от вражеских снарядов. Перед проектировщиками HMS Vanguard встала почти неразрешимая задача, поскольку система подачи соответствовала старым стандартам, а менять ее было бы долго, дорого и хлопотно. В результате пришлось пойти на странный компромисс. Главный зарядный погреб остался на самой нижней платформе, но в дополнение к нему создали перегрузочное отделение по загрузке зарядов в подачу, расположенное над снарядным погребом. Такое решение позволяло оставить старые механизмы и устройства подачи, одновременно максимально обезопасив основную массу кордита от взрыва или воспламенения. Небольшое количество зарядов, находившихся в любой момент в перегрузочном отделении, не могло вызвать серьезного пожара. Для дополнительной безопасности это отделение сверху и снизу оборудовалось пламянепроницаемыми дверями, а заряды перемещались в специальных пеналах - полезная практика, спасшая от гибели несколько линейных крейсеров еще в бою у Доггер-банки и Ютландском сражении.
Модернизация 381-мм установок Mark I и Mark I*
381-мм башни модели Mark I в ходе модернизации линейных кораблей HMS Queen Elizabeth, HMS Valiant и HMS Warspite также были отремонтированы и модернизированы получив индекс Mark I/N. Установки модели Mark I* линейного крейсера HMS Renown после модернизации получили индекс Mark I*/N.
Модернизация 381-мм башен была аналогична проведенной позднее для установок линейного корабля HMS Vanguard, за исключением установки дистанционных приводов и стабилизированных дальномеров. Исходные лобовая, боковые и задняя броневые плиты не менялись, однако, в лобовой были прорезаны более высокие амбразуры, обеспечившие угол возвышения 30°. При этом порты орудий получились довольно большими, и их пришлось прикрыть сверху специальными броневыми крышками. Заменили также крышу - теперь она состояла из нецементированных крупповских плит толщиной 152 мм[37]. С нее убрали смотровую башенку командира, которая на практике ограничивала возможности ведения огня из возвышенных установок по диаметральной плоскости, поскольку орудийные газы приводили к контузиям.

Башня и системы подачи оборудовались дополнительными предохранительными экранами против пламени.
После изменения систем подачи, модернизированные установки Mark I/N/Mark I*/N могли использовать модернизированные снаряды большей длины, весом 879 кг с радиусом оживала головной части в 6 калибров. Станины, цапфы и противооткатные устройства были рассчитаны на применение «усиленных» пороховых зарядов весом в 220 кг.
Из-за возросшей массы вращающейся структуры установки были усилены приводы горизонтального вращения башни. Приводы вертикального наведения были заменены новыми. Впрочем, расположение зарядных погребов над снарядными осталось прежним, т.к. требовало большого числа корпусных работ - требовалось почти разобрать оконечности корабля, а следовательно, и значительных денежных средств и времени.
381-мм установки Mark I мониторов

С началом Первой Мировой войны работы по постройке на заказанных по программе 1914 года четырех линкорах: HMS Agincourt типа Queen Elizabeth, HMS Repulse, HMS Renown, HMS Resistance типа Royal Sovereign были частью приостановлены, а частью заказы и вовсе аннулированы. В дальнейшем, HMS Renown и HMS Repulse были перепроектированы как линейные крейсера с вооружением из трех 381-мм башен. Первоначально заказанные для линкоров четвертые башни были изготовлены, но неукомплектованы стволами.
В январе 1915 года на верфи «Palmers» в Джарроу, Ньюкастл были заложены, а в августе и ноябре 1915 года вошли в строй HMS Marshal Ney и HMS Marshal Soult, известные как мониторы типа Marshal Ney. Предназначенные для действий в прибрежной зоне вдоль бельгийского побережья, изрезанного песчаными отмелями, они были оснащены двумя 381-мм установками Mark I. Установленные на мониторы башни линкоров были укомплектованы орудиями, первоначально предназначенных для линейного корабля HMS Ramillies.

Так как конструкция башни не менялась при установке на монитор, бронирование осталось «линкорным» - 330-мм лобовая плита, 254-мм передние бортовые, 229-мм задние бортовые, 279-мм тыловая броневые плиты, 102-мм крыша, 25-мм пол в задней части башни. Башни находившихся на линкорах в позиции «X» - кормовой возвышенной, имели увеличенную высоту подбашенных конструкций, что обусловило высокий башенный барбет. Барбет 381-мм установок, имеющий в плане вид многогранника, составленный из плоских вертикальных броневых плит, имел одинаковую 203-мм толщину со всех сторон.

Корабли полным водоизмещением 6 900 тонн были оснащены двумя дизельными двигателями общей мощностью 1 500 л.с.:HMS Marshal Ney оснащался дизелями «MAN», HMS Marshal Soult - «Vickers». Проектная скорость - 9 узлов, реальная - только 6, что с трудом позволяло находиться в районе сильных приливно-отливных течений у бельгийского побережья. Кроме того двигатели «MAN» были крайне ненадежны, и механики постоянно их чинили. Доходило до того, что дизеля просто не глушили из-за боязни потом их не завести. В итоге, HMS Marshal Ney был признан «операционно непригодным» и в январе 1916 года 381-мм башня с него была снята и передана на строящийся монитор HMS Terror типа Erebus[38]. В марте 1940 года HMS Marshal Soult был разоружен, передав свою 381-мм башню на строящийся монитор HMS Roberts одноименного типа.

Разочарованное неудачей испытаний HMS Marshal Ney, Адмиралтейство уже 6 сентября 1915 года приступило к проектированию нового корабля, в котором были учтены уроки проектирования и постройки мониторов. Среди основных улучшений было увеличение мощности для обеспечения скорости 12 узлов (22 км/ч) и изменение обводов корпуса для улучшения управляемости. Другим существенным изменением было поднятие верхней части противоторпедного буля над ватерлинией и уменьшение его ширины. Оба изменения должны были улучшить устойчивость и маневренность монитора.

По новому проекту, получившим наименование тип Erebus, с октября 1915 по сентябрь 1916 года на верфи «Harland & Wolff» в Белфасте были построены мониторы HMS Erebus и HMS Terror. Помня о неудаче с дизелями, на этот раз корабли, водоизмещением 8 590 тонн, оснастили четырьмя водотрубными котлами «Babcock & Wilcox» и двумя паровыми машинами общей мощностью 6 000 л.с. позволяющим развивать максимальную скорость - 13 узлов.

HMS Terror получил 381-мм установку, как уже упоминалось, демонтированную с HMS Marshal Ney. Башня HMS Erebus была изготовлена для одного из отмененной постройкой линкоров HMS Agincourt или HMS Resistance[39]. В пользу этой версии говорит «линкорное» бронирование башни - 330-мм лобовая плита, 254-мм передние бортовые, 229-мм задние бортовые, 279-мм тыловая броневые плиты, 102-мм крыша, 25-мм пол в задней части башни, приводимое всеми справочниками. «Крейсерская» башня имела гораздо более легкое бронирование - 229 мм лоб, 178 мм бок и тыл, 102 мм крыша и 25-мм пол. Барбет 381-мм установок, имеющий в плане вид многогранника, составленный из плоских вертикальных броневых плит, имел одинаковую 203-мм толщину со всех сторон.

По опыту использования мониторов типа Marshal Ney, угол возвышения 381-мм орудий был увеличен до 30°, чтобы осуществлять обстрел береговых целей, не входя в зону действия немецких береговых батарей, вооруженных 305-мм/50 орудиями SK L/50. Опыт модернизации этих установок, был впоследствии использован для проектирования 381-мм башен Mark II линейного крейсера HMS Hood.
В начале 1940 года, монитор HMS Marshal Soult, числящийся несамоходным учебным кораблем, было решено разоружить[40], с целью использования 381-мм установки, находящейся в рабочем состоянии.

Еще одна установка, одного из отмененной постройкой линкоров HMS Agincourt или HMS Resistance, находилась на складах[41]. Одновременно, на основе кораблей типа Erebus, был разработан новый проект с более коротким корпусом, несколько меньшей мощностью энергетической установки и переходом с паровых машин на турбозубчатые агрегаты. По сравнению с прототипом, проект монитора имел более развитую надстройку и внешне несколько напоминал линейные корабли типа Nelson. Противоторпедная защита рассчитана на взрыв 454 кг тротила.

По проекту мониторов типа Roberts, в рамках программы 1940 года, на верфи «John Brown & Company» в Клайдбанке был построен (30.04.1940-27.10.1941) HMS Roberts, а по программе 1941 года - «Vickers-Armstrongs» из Ньюкастла-на-Тайне построила HMS Abercrombie (26.04.1941-31.03.1942).

HMS Roberts строился под 381-мм башню, снятую с HMS Marshal Soult, HMS Abercrombie вооружили башней, находящейся на складах. На обоих установках угол возвышения 381-мм орудий был увеличен до 30°, а для балансировки орудий и башен был уложен балласт в 12 тонн.
Береговые установки

Сингапур стал важным фактором в военных планах Великобритании только в 1921 году, когда Комитет по имперской обороне выбрал остров в качестве места для новой военно-морской базы. Сингапурская база должна была вместить большой боевой флот и обеспечить снабжение и ремонт. Форты с береговой артиллерией существовали на Сингапуре с 1830-х годов. В 1927 году армейские инженеры начали выбирать места для новых, современных батарей береговой обороны, оснащенных крупнокалиберными орудиями.
В восточной части пролива Джохор, на полуострове Чанги (где сегодня находится аэропорт Сингапур-Чанги), должны были разместиться три 381-мм/42 орудия Mark I в бронированных установках с круговым сектором обстрела, с подземными погребами боезапаса. Узкоколейная железная дорога соединяла батареи со складами боеприпасов. Для батарей была предусмотрена мощная зенитная защита, а также казармы для батальона пехоты (2-й батальон Гордонских горцев). Работы начались в конце 1927 года, но были приостановлены из-за Великой депрессии. В 1935 году султан Джохора, встревоженный признаками готовящейся японской агрессии, выделил грант на продолжение работ, и к 1938 году они были в основном завершены. На южном побережье, в районе Буона Виста, располагалась еще одна батарея из двух 381-мм орудий, но одно имело сектор обстрела 180°, другое имело круговое вращение.

Когда японцы начали артиллерийский обстрел Сингапура, батарея в Чанги ответила огнем. Но, не имея фугасных снарядов, они мало что могли сделать против японской высадки, и быстро продвигающиеся японские войска понесли от них незначительные потери. Хотя бронебойные снаряды взрывались, при использовании их против наземных целей они глубоко зарывались в мягкий грунт прежде чем взорваться.


Когда пехотинцы из японской 18-й пехотной дивизии «Хризантема» захватили аэродром Тенга на противоположном конце острова, 381-мм орудия обрушили на аэродром 194 снаряда, и на твердой поверхности взорвалось гораздо больше снарядов, чем во время ранних обстрелов. И это была их единственная по-настоящему успешная стрельба. За все время своего существования обе 381-мм батареи Сингапура ни разу не стреляли по морским целям. Перед капитуляцией Сингапура, саперы уничтожили все орудия и наземные постройки, причем настолько тщательно, что подземные бункеры под ними были обнаружены нетронутыми и исследованы только в 1991 году. По некоторым данным, японцам все же удалось восстановить одну из 381-мм установок (№2) батареи Буона Виста с использованием частей оставшихся от взорванных остальных орудий. Были проведены опытные стрельбы, однако, о дальнейшей судьбе орудия ничего не известно.
Два 381-мм/42 орудия Mark I были установлены в Уанстоуне близ Дувра. После окончания войны в 1945 году два последних 381-мм орудия поддерживались в рабочем состоянии и были демонтированы только в 1959 году.

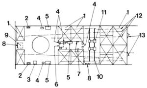
Цифрами обозначены:1 - дальномер с базой 2,74 м; 2 - 102-мм трехорудийная установка; 3 - сигнальный 610-мм прожектор; 4 - дальномер с базой 3,65 м; 5 - пост управления огнем главного калибра; 6 - пост управления огнем 102-мм артиллерии; 7 - боевой 914-мм прожектор; 8 - сигнальный прожектор; 9 - бронированный пост управления огнем главного калибра c 4,57-м дальномером; 10 - 102-мм одноствольная артустановка.
В 1920-х годах Испания приобрела у «Vickers» четыре 381-мм/42 орудия Mark I в одноорудийных башнях для установки на береговой батарее в районе Картахены на средиземноморском побережье страны. Однако, две башни были установлены в крепости Ла Мола и две на батарее Ллукалори, обе на острове Менорка. Причем батарея Ллукалори провела последние стрельбы в середине 2000-х гг., а теперь превращена в музей.
Об установках известно крайне мало, а именно, углы вертикального наведения орудий -3°...+50° (или даже +55°) и дальность стрельбы бронебойным снарядом с радиусом оживала в 6 калибров 40 370 м на угле возвышения 50° при использовании «усиленного» порохового заряда и нового ствола.
Управление огнем
Линейные корабли и линейные крейсера постройки Первой Мировой войны

Для 381-мм орудий главного калибра первоначально утвержденный проект линейных кораблей типа Queen Elizabeth предусматривал пост управления огнем, располагавшийся в бронированной башне над командным пунктом. В его вращающейся бронированной части стоял 4,57-м дальномер. В январе 1915 года проект был усовершенствован и все новые тяжелые корабли (линейные корабли типа Royal Sovereign, линейные крейсера типа Renown и легкие линейные крейсера типа Courageous) снабжать приборами центральной наводки орудий главного калибра.

Система управления огнем главного калибра линкоров и линейных крейсеров постройки Первой Мировой войны состояла из вращающегося бронированного поста управления (так называемого «треножного поста») с дальномером «MG8» (база - 15 футов, или 4,57 м), размещенного на крыше боевой рубки, и второго аналогичного поста (но уже небронированного), установленного на платформе фор-марса, где устанавливался 3,65- и 4,57-м дальномер. В нижней части боевой рубки помещался счетно-решающий пост с прибором Дрейера и устройствами передачи данных центральной наводки в башни главного калибра. Кроме того, каждая из 381-мм башен при постройке была снабжена дальномером с базой 4,57 м и открытым визиром для горизонтальной наводки. Резервным централизованным постом управления огнем, правда с упрощенным комплектом приборов, оборудовалась носовая возвышенная башня «B». Легкие линейные крейсера типа Courageous, имевшие всего две башни главного калибра, резервного поста не имели.

Линейные корабли типа Queen Elizabeth, прошедшие капитальную модернизацию в конце 1930-х годов, получили усовершенствованные системы управление огнем и дальномерное оборудование. Например, модернизированные последними HMS Valiant и HMS Queen Elizabeth, вошедшие в строй в ноябре 1939 и феврале года соответственно, имели следующее дальномерное оборудование:
- два 9,14-м дальномера в возвышенных 381-мм башнях «B» и «X»;
- восемь 9,14-м дальномеров в концевых 381-мм башнях «A» и «Y», на главном посту управления огнем, на кормовом посту управления огнем и на четырех постах управления огнем универсального калибра по надводным и воздушным целям;
- два 2,74-м дальномера на нижнем мостике.
В башенной рубке поста управления огнем главного калибра находился прибор управления огнем на треноге под бронированным колпаком, позади него находился счетно-решающий прибор Mark VII.
После коренной модернизации в 1936-39 гг. линейный крейсер HMS Renown получил практически идентичное оптическое вооружение - один дальномер с базой 9,14 м в возвышенной башне «B», четыре дальномера с базой 4,57 м: по одному в задней части башен «A» и «Y» и по одному в бронированных куполах переднего и заднего постов управления стрельбой центральной наводки, четыре 4,57-м на постах управления огнем универсального калибра по надводным и воздушным целям.
В каждом из постов управления находился прибор управления огнем под бронированным колпаком, рядом находился счетно-решающий прибор Mark VII.
Линкоры типа Royal Sovereign, предполагавшиеся к выводу из состава флота после вступления в строй кораблей типа King George V, серьезных модернизаций не проходили, хотя некоторые усовершенствования систем управления огнем все-таки проводились.


Линейный крейсер HMS Repulse, предполагалось отправить на коренную модернизацию после завершения таковой у HMS Renown, однако, помешало начало Второй Мировой войны. Дальномерное вооружение и приборы управления огнем совершенствовались, в основном, для зенитных орудий. Что же касается главного калибра, то в переднем посту управления огнем был установлен 9,14-м дальномер, а в одном из помещений надстройки счетно-решающий прибор Mark VII[42].
Линейный крейсер HMS Hood типа Admiral
Самый современный линейный крейсер Британии HMS Hood получил самое современное для своего времени оборудование. Основа его системы управления артиллерийским огнем (СУАО) - «столик Дрейера» Mark V имелся в Британии всего в четырех экземплярах: один на HMS Hood и еще 3 в главных учебных артиллерийских центрах в Чатэме, Портсмуте и Девонпорте. Система включала два директора (командно-дальномерного пункта, КДП), один на боевой рубке и второй на топе фок-мачты, пять 9,14-м дальномеров (по одному в каждой 381-мм башне и еще один в главном КДП на рубке) плюс 4,58-м дальномер в верхнем КДП, 5 коммутационных станций Эвершеда для передачи данных к орудиям (одна на топе мачты, две на переднем мостике и две в главном КДП), три указателя дистанции и пеленга (один в верхнем КДП и два в главном) и «столик Дрейера».
«Столик» пятой модели на самом деле представлял собой крупную стальную столешницу длиной 3,1 м и шириной 1,3 м, на котором располагались масса механизмов и управляющих их действием электромоторов. В их число входил графопостроитель для прокладки текущей дистанции и несколько аналоговых вычислительных устройств. Последние в английском флоте по традиции назывались «дьюмареск», по имени изобретателя первого такого прибора, лейтенанта Джона Дьюмареска. На HMS Hood имелся целый набор «дьюмаресков», главный из которых по данным по собственной скорости корабля и пеленгу, курсу и скорости противника выдавал скорость изменения дистанции и угол наведения орудий. Один из вспомогательных вычислителей того же типа служил для учета влияния ветра на отклонение снаряда в полете.

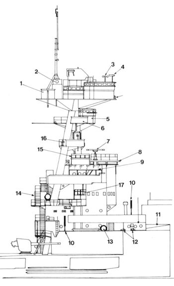
Цифрами обозначены: 1 - платформа директора 40-мм автоматов «pom-pom», во время ремонта 1934 года перенесенная на позицию 2, 2 - 1,7 м дальномеры на специально стойке, 3 - анемометр, 4 - флюгер, 5 - площадка для наблюдения за торпедами, 6 - мостик управления прожекторами, 7 - 9-футовый (2,7-м) дальномер в положении после реконструкции 1927 года, 8 - козырек крыши, смонтированный во время ремонта 1929-31 гг., 9 - платформа, добавленная во время реконструкции 1927 года, 10 - семафор, 11 - каюта сигнальщика, 12 - 3-фн (47-мм) салютные пушки, 13 24-дюймовый (61-см) сигнальный прожектор, 14 - верхний мостик, 15 - торпедная рубка, добавленная во время реконструкции 1927 года, 16 - сирена, 17 - ветровое стекло.
При выработке данных для стрельбы в главный «дьюмареск» вводили текущую скорость HMS Hood, пеленг на цель и определенные на глаз (или как результат отдельных вычислений) скорость и курс противника. По этим данным вычислялась скорость изменения дальности. Это значение поступало в следующее устройство, «Range Clock» - «Часы» расчета дальности». В «часики» предварительно вводилась начальная дистанция до цели, по ней и скорости изменения на выходе получалось предсказанное значение будущей дистанции.
Это значение отмечалось на рулонной бумаге, проходившей через графопостроитель в виде непрерывной линии. Одновременно на том же листе точками указывались усредненные дистанции, полученные от дальномеров. При их расхождении тут же вносились поправки в установки «дьюмареска». Согласованные данные поступали в коммутационный пост - «Transmitting Station». Их читал со своего циферблата офицер, управляющий стрельбой. Он, основываясь на собственном опыте, либо принимал эти данные или же вводил поправки. Корректирующие поправки управляющего стрельбой тут же поступали в «часы дальности» и выработанные новые данные, с учетом поправок, передавались в директор. Там располагался визир-телескоп наводчика, ось которого поднималась или опускалась в соответствии со значением дальности. Наводчику оставалось только удерживать перекрестие визира на цели: текущий угол возвышения визира (соответственно, с учетом переданной со «столика» скорректированной предсказанной дальностью и качки корабля) непрерывно поступал на циферблаты в башнях, где наводчикам установок требовалось лишь совмещать свои стрелки с указанным значением, наводя тем самым орудия на цель, не обращая при этом внимания ни на какие внешние факторы.

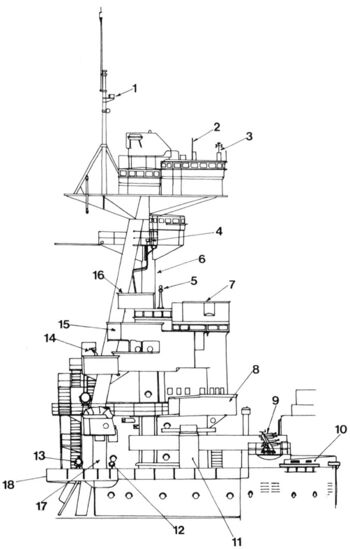
Цифрами обозначены: 1 - Термограф (инфракрасный приемник), установленный в 1935-36 гг., 2 - антенна типа «75 W/T», установлена в 1936 году, 3 - комбинированный анемометр и флюгер, 4 - сирена установлена на уменьшенной площадке, 5 - 9-футовый (2,7-м) дальномер, 6 - платформа прожектора демонтирована, 7 - мостик управления противовоздушной обороной, установлена в 1936 года, 8 - расширенный адмиральский мостик, 9 - 12,7-мм счетверенный пулемет «Vickers», установленный в 1934 году, 10 - смотровые перископы, 11 - 12-футовый (3,6-м) дальномер перенесен вниз с верхних уровней в 1934 году, 12 - сигнальный прожектор, 13 - 20-дюймовый (51-см) сигнальный прожектор, 14 - платформа директора 40-мм автоматов «pom-pom», перемещен вниз с топа мачты, 15 - верхняя компасная платформа увеличена, 16 - пост наблюдения за воздушной обстановкой, установленная в 1936 году, 17 - зенитный директор «HACS MK III» (по левому и правому борту), 18 - расширенный адмиральский мостик.
Полностью аналогично и совершенно независимо действовала система горизонтальной наводки. В ней также использовался свой «дьюмареск», вычислявший скорость изменения угла на цель по данным гирокомпаса для учета собственных маневров и выдававший будущий угол на графопостроитель, где они откладывались на том же листе, что и передаваемый из директора пеленг. Вычислительное устройство, сумматор поправок угла наводки, осуществляло учет таких факторов как влияние ветра, вращение земли и т.п., и выдавало итоговую коррекцию текущего угла на цель. Поправка наводки по углу поступала в директор, где добавлялась к пеленгу. «Предсказанное» значение полного угла горизонтальной наводки известным способом - посредством совмещения стрелок на циферблатах в башнях преобразовывалось в движение орудий в горизонтальной плоскости.

Несмотря на изрядную процедурную сложность, при хорошей тренировке персонала система действовала неплохо и позволяла удерживать под обстрелом уже накрытую цель, если только ее маневры не становились слишком резкими и непредсказуемыми. Однако на практике офицер, управляющий огнем, зачастую предпочитал ориентироваться больше не на вычисленные значения, а на наблюдение за падениями своих снарядов относительно цели, вводя соответствующие поправки.
В случае выхода из строя главной системы управления огнем, например, случайным удачным попаданием, линейный крейсер должен был иметь возможность продолжать вести прицельную стрельбу. Для этого, по проекту, каждая из 381-мм башен оборудовалась миниатюрными столиками Дрейера (1,5×0,6 м) с тем же оборудованием - графопостроителем, дьюмареском, «часами» и корректором для ввода поправок. Датчиком дистанции служил 9,14-м башенный дальномер. В принципе, такая система обеспечивала приемлемую точность, поскольку максимальные дистанции ведения огня в этом случае были меньше из-за более низкого расположения самих дальномеров.[43]. Возможно, СУАО Дрейера, установленная в 1929 году в задней «торпедной» рубке, также принадлежала к тому же «башенному» типу.

В случае сосредоточенной стрельбы нескольких линейных кораблей по одной цели для передачи дальности служили специальные циферблаты (также часто называемые «Range Clock»). Направление на цель определялось на соседних кораблях по специальным «шкалам пеленгов», нанесенных на башни[44]. Такая система позволяла стрелять по невидимым или плохо видимым целям. Чтобы не путать свои и чужие всплески, при сосредоточенных стрельбах каждый корабль посылал залп с заранее предусмотренным сдвигом по времени. Все эти меры имели смысл только до конца 20-х годов, и, с развитием радиосвязи ближнего действия, ненадежная и примитивная система была заменена УКВ-передатчиками и приемниками, а циферблаты демонтировали. «Шкалы пеленгов» закрасили еще в конце Первой Мировой войны.
Что касается размещения всей этой техники, то главный пост управления стрельбой главного калибра располагался на крыше обширной передней боевой рубки в отдельном помещении. Он представлял собой бронированный цилиндр с 152-мм стенками. Поверх главного поста находился вращающийся командно-дальномерный пост с 9,14-м дальномером. КДП также прикрывался броней: 152 мм в передней части, с 51-мм боковыми стенками и 76-мм крышей. Резервный небронированный пост ПУАО главного калибра находился на площадке марса фок-мачты. Он не имел броневой защиты и оборудовался менее точным дальномером с базой 4,6 м.

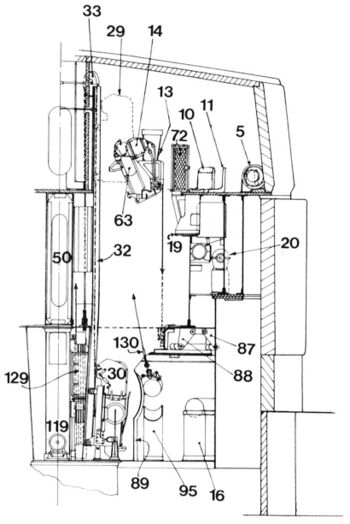
Цифрами обозначены: 1 - антенна РЛС типа «293», 2 - антенна УКВ радиостанции, 3 - 18-дюймовые (45-см) сигнальные прожекторы, 4 - антенна РЛС типа «277», 5 - антенна навигационной РЛС типа «930», 6 - антенна РЛС типа «275», 7 - КДП «Мк-37», 8 - антенна РЛС типа «274», 9 - КДП с 30-футовым дальномером системы управления огнем главного калибра, 10 - визирные колонки, 11 - антенна радиопеленгатора, 12 - кожух вентилятора котельного отделения, 13 - КДП системы управления огнем 40-мм автоматов.
В таком состоянии СУАО HMS Hood просуществовала без каких-либо изменений более 20 лет, хотя за это время на других британских кораблях менялись различные приборы и устройства. Только в начале 1941 года в состав системы добавился еще один источник данных - артиллерийский радиолокатор типа «284». Его данные о дальности также поступали на «столик Дрейера», и все зависело от того, насколько они были точными - первые образцы британских артиллерийских радаров этой модели имели весьма скромные характеристики: предельную дальность около 10 миль и среднюю ошибку по дальности около процента от дистанции. Радиолокатор имел две антенны, передающую и приемную, размещенные на вращающемся КДП на топе передней мачты.
Линейный корабль HMS Vanguard
В ходе Второй мировой войны стало окончательно ясно, что артиллерийская система является именно системой, а не только орудийной башней с пушками. В основных морских державах были созданы весьма совершенные системы управления огнем, включавшие оптические и электронные датчики (дальномеры и радиолокаторы) и удивительные для своего времени аналоговые вычислительные системы. Развитие их шло по линии более активного применения радиолокации и надежного соединения всех элементов СУАО в единую сеть. Ярким примером этой тенденции является HMS Vanguard. Англичане отошли, наконец, от порочной практики выделять «основной» и «резервный» пункты управления стрельбой, что в боевых условиях приводило к резкому снижению эффективности огня при выходе из строя основного пункта или просто при нарушении проводки.
Последний британский линкор имел два поста управления главным калибром, соединенных с постом обработки информации. Оба директора, передний и задний, имели практически одинаковое оборудование, в частности - артиллерийский радар типа «274». Дополнительные пункты имелись в возвышенных башнях «А» и «X»: они могли управлять огнем каждой пары башен. Большое значение уделялось защите и дублированию сетей связи. Интересно, что в посту обработки информации имелся лишь один экран радара 274, который мог переключаться на «картинку» от переднего или заднего радиолокатора. Такое решение упрощало задачу артиллерийского офицера - ему не надо было наблюдать сразу за двумя экранами, хотя это и создавало ряд неудобств при переключении. В общем, управление огнем главного калибра на HMS Vanguard вполне соответствовало стандартам конца войны.
HMS Vanguard имел в системе обработки информации и управления еще одно важное новшество - боевой информационный пост. Впервые он был выполнен в виде единого блока, включавшего несколько помещений, которые находились ниже ватерлинии и защищались столь же надежно, как и артиллерийские погреба. В одном из них размещались экраны всех радаров обнаружения и управления огнем, в остальных - персонал управления ПВО корабля и операторы вычислительных систем. Рядом располагался нижний боевой пост, где сосредотачивались все средства управления кораблем. Так что, в принципе, командир или командующий соединением могли по «американскому» образцу руководить действиями линкора или эскадры, не выходя «на свежий воздух».

Первоначальным проектом столь обширные помещения не предусматривались, однако сосредоточение всех средств в виде единой информационной системы оказалось столь насущным, что разработчикам пришлось даже создать полномасштабный макет всех комнат и в нем проверить различные варианты размещения оборудования и персонала. Это позволило вносить изменения в компоновку помещений почти до самого вступления линкора в строй. Тем не менее и после ввода HMS Vanguard в строй места для аппаратуры все равно не хватало. С тех пор практически ни на одном типе боевых кораблей не удавалось обойтись без увеличения объема под электронное оборудование и членов экипажа, занятых его обслуживанием.

Число и тип радиолокаторов в ходе службы HMS Vanguard неоднократно менялись. Уже при вступлении в строй он имел почти три десятка систем самого разного назначения. Для раннего обнаружения кораблей и самолетов впервые в английском флоте использовался новый комбинированный радар типа «960», антенна которого крепилась на топе грот-мачты. Его дополняла РЛС аналогичного назначения типа «277», способная обнаруживать надводные цели и низколетящие самолеты (антенна устанавливалась на краспице фок-мачты). Для целеуказания служил особый радар типа «293», антенна которого находилась на фок-мачте спереди. На экранах всех радаров отметки от своих кораблей и самолетов выглядели в виде двойных сигналов, в отличие от целей. Для этой функции применялись два приемника радиолокационного опознавателя «свой-чужой» типа «253», а свои сигналы для радаров «277» и «293» «метили» два передатчика той же системы типа «242». Для навигационных целей предназначались радиолокаторы «268» и «930», которые служили также для обнаружения надводных целей.

Наиболее многочисленными были артиллерийские РЛС - ими оборудовались все директоры, от СУАО главного калибра до индивидуальных КДП многоствольных автоматов. Всего по штату HMS Vanguard имел два радара типа «274», четыре - типа «275» и 11 - типа «262».
Техника радиолокации за годы войны сделала огромный шаг вперед. Все артиллерийские радиолокаторы имели стабилизированные антенны, впрочем, как и радары типов «930», «277», «268» и «293». РЛС могли действовать при любой качке, не теряя своих целей. Правда, при несомненном количественном и качественном прогрессе ситуация с радиолокационным оборудованием была далеко не идеальной, например, РЛС типа «268» оказался практически бесполезным, поскольку на большинстве пеленгов его антенна экранировалась грот-мачтой, трубой и кормовым КДП универсальной артиллерии. Значительное число различных установок, хотя и действовавших на разных частотах, приводило к нежелательному «забиванию» одних радаров другими - новейшая РЛС типа «960» препятствовала работе артиллерийских радаров управления огнем универсального калибра,

а система УКВ-связи для оперативных переговоров между кораблями одного соединения мешала функционированию радаров «293» и «277», а также локаторам типа «275».
Мониторы
Мониторы, как постройки периода Первой Мировой войны, так и постройки Второй Мировой войны, предназначались для бомбардировки береговых целей находясь у береговой черты на якоре. Дальномеры в башни не устанавливались, а все монтажные отверстия заделывались.


На марсе фок-мачты монтировались дальномеры с базой 2,7-3,6 м, использовавшиеся, скорее всего, для уточнения своего местоположения. Корректировка огня осуществлялась наблюдателями на топе мачты либо по радиосвязи с артиллерийским корректировщиком на берегу.
Береговые установки
Береговые установки оборудовались командным пунктом состоящим из дальномера (скорее всего, с базой 4,57 м, но некоторые источники говорят о 9,14-м дальномерах сингапурских батарей), и системы управления артиллерийским огнем примерно соответствующим по возможностям «башенным» системам линейного крейсера HMS Hood, то есть оборудовалась миниатюрными столиками Дрейера с графопостроителем, дьюмареском, «часами» и корректором для ввода поправок.
381-мм/42 орудия Mark I в искусстве



381-мм/42 орудиями Mark I вооружены представленные в игре «Мир кораблей»:
- акционными премиумными линкорами VI уровня Repulse и Repulse B английской ветки. Линкор представлен на момент своей гибели в декабре 1941 года с минимальными отличиями от оригинала;
- исследуемым линкором VI уровня Renown английской ветки. Линкор представлен на май 1945 года после снятия носовой группы из шести 114-мм башен и небольшими отличиями в мелкокалиберной зенитной артиллерии и конфигурации надстроек;
- акционным премиумным линкором VII уровня Renown'44 английской ветки. Линкор представлен на середину 1944 года с небольшими отличиями в мелкокалиберной зенитной артиллерии и конфигурации надстроек;
- исследуемым линкором VI уровня Queen Elizabeth английской ветки. Линкор представлен по состоянию на 1941-42 гг. с небольшими отличиями в мелкокалиберной зенитной артиллерии и конфигурации надстроек.;
- акционным премиумным линкором VII уровня Warspite английской ветки. Линкор представлен по состоянию на 1941-42 гг.
- акционным премиумным линкором VII уровня Hood английской ветки. Линкор представлен по состоянию на момент гибели 24 мая 1941 г.
См.также
- Корабельное вооружение
- Морские сражения
- Военно-морские награды
- Словарь морских терминов
305-мм/45 орудие Mark X
305-мм/50 орудие Mark XI
343-мм/45 орудие Mk V
457-мм/40 орудие Mark I
508-мм/45 орудие Mark I
ВМС Великобритании
Линейные корабли типа Queen Elizabeth
Линейные корабли типа Royal Sovereign
Линейные крейсера типа Renown
Легкие линейные крейсера типа Courageous
Легкий линейный крейсер HMS Furious
Линейные крейсера типа Admiral
Линейный крейсер HMS Hood
Линейный крейсер HMS Vanguard
- ↑ Вооруженные 45-калиберными 305-мм/45 Mark X и 50-калиберными 305-мм/50 Mark XI орудиями.
- ↑ Вошли в строй, заложены или достраивались шесть линейных крейсеров с 305-мм и четыре с 343-мм орудиями.
- ↑ Вес «легких» снарядов, принятых на вооружение в 1909 году, «тяжелые» появились лишь в 1918 году.
- ↑ Ряд источников утверждает, что 381-мм/42 орудие Mark I было разработано концерном «Vickers», также изготовившем первые экземпляры.
- ↑ «14-дюймовое экспериментальное». 14 дюймов - 355,6 мм.
- ↑ Часть производителей использовали проволоку прямоугольного сечения - ленту.
- ↑ Кроме технологических сложностей, основным недостатком проволочного способа скрепления ствола являлась его малая продольная прочность. К тому же изготовленные таким образом стволы получались значительно более тяжелыми, чем имеющие скрепленную конструкцию - из насаживаемых в горячем состоянии друг на друга стальных труб (т.н. колец).
- ↑ Привод затвора имел название «pure-coupled» (рус. «связанный»).
- ↑ Аналогичное немецкое 380-мм/45 орудие SK L/45 скрепленной конструкции весило около 80 000 кг.
- ↑ 2,4,6-Тринитрофенол (пикриновая кислота) - химическое соединение с химической формулой - C6H2(NO2)3OH, нитропроизводное фенола. Желтое кристаллическое ядовитое вещество. Пикриновую кислоту и ее соли (пикраты) используют как взрывчатые вещества. Во Франции и Российской империи называлась мелинитом, в Великобритании - лиддитом, в Японии - шимозой. Бризантность примерно соответствует тротилу. При длительном хранении имеет склонность к разложению, а при пожарах - к самодетонации. Главным недостатком являлась преждевременная детонация снарядов при ударе о броню.
- ↑ Ды́мный по́рох (также «чёрный порох») - исторически первое взрывчатое вещество, состоящее в основном из трёх компонентов: селитры, древесного угля и серы. Изобретён в Китае, в Средневековье. К 1890-м годам оказался почти полностью вытеснен из военной сферы более совершенными взрывчатыми веществами, а как метательное вещество уступил место различным видам бездымного пороха.
- ↑ TNT - тринитротолуол, тринитрометилбензол, тротил, тол - одно из наиболее распространённых бризантных взрывчатых веществ. Представляет собой желтоватое кристаллическое химически стойкое вещество.
- ↑ Шеллит, «Shellite» представляет собой смесь пикриновая кислота и динитрофенол или гексанитродифениламин в соотношении 70/30 - 60/40. Шеллит был менее чувствителен к ударам чем лиддит, а также имел преимущество низкой точки плавления, что позволяло легко его плавить и заливать в снаряды во время производства.
- ↑ Вместо разрывного заряда снаряд начинялся песком соответствующего веса. Иногда добавлялась 200-300-граммовая пороховая шашка, для обозначения места падения снаряда.
- ↑ Фирма «Hadfield Ltd.» начала производить их еще в начале 1919 года.
- ↑ Сведений, когда снаряды модели Mark VIIa были испытаны и чем именно они отличались от снарядов Mark Va
- ↑ Вероятно, по конструкции аналогичны моделям Mark Va и Mark VIIa только с новыми баллистическим обтекателями
- ↑ Гексоген (циклотриметилентринитрамин, «RDX», «T4») - (CH2)3N3(NO2)3, вторичное (бризантное) взрывчатое вещество. Применяют для изготовления детонаторов (в том числе детонационных шнуров), снаряжения боеприпасов и для взрывных работ в промышленности, как правило, в смеси с другими веществами (тротилом и т. п.), а также, с добавкой флегматизаторов (парафина, воска, церезина), уменьшающих опасность взрыва гексогена от случайных причин. Представляет собой белый кристаллический порошок. Фугасность в чистом виде - до 170% от тротила.
- ↑ С бронебойным снарядом APC Mark Ia времен Первой Мировой войны не имеет ничего общего - скорее, это вариант снаряда модели APC Mark XVIIb или APC Mark XXIIb.
- ↑ Кордит - название одного из видов нитроглицеринового бездымного пороха. В 1887 году в Великобритании Альфред Нобель разработал баллистит, один из первых нитроглицериновых бездымных порохов, состоящий в одном из последних вариантов из равных частей пороха и нитроглицерина. Баллистит был модифицирован Фредериком Абелем и Джеймсом Дьюаром в новый состав - кордит. Он также состоит из нитроглицерина и пороха, но использует самую нитрированную разновидность пороха, нерастворимую в смесях эфира и спирта, в то время как Нобель использовал формы, растворимые в данных смесях.
- ↑ Кордит «MD45» состоял из 65% нитроцеллюлозы (13,1% азота), 30% нитроглицерина и 5% жидкого парафина (вазелина). При длительном хранении, кордит был подвержен разложению, а затем и самовозгаранию, что привело к гибели в собственных базах нескольких крупных кораблей. Недостатком кордитных порохов является высокая температура и скорость горения: первая приводила к быстрому выгоранию стволов, вторая приводила к взрыву порохового погреба и гибели корабля в случае возгорания зарядов в нем, в отличие от немецких кораблей, которые горели, но не взрывались. Немецкие орудия, использующие медленногорящие пороха, имели, как минимум, на треть большую живучесть ствола по количеству выстрелов полным зарядом.
- ↑ Исследования новых кордитных порохов (кордиты «RDB»), не использующих в процессе производства ацетон, продолжались в направлении добавления стабилизаторов, что в итоге привело к созданию широко используемого во Второй Мировой войне пороха. В Великобритании этот тип был известен как кордит «SC» («Solventless Cordite»). Кордит «SC» производился в различных формах и размерах, поэтому конкретная геометрия пороха обозначалась с помощью букв или цифр, или и того, и другого, после «SC». Например, последующие цифры означали стержнеобразный шнур, причем цифра означала диаметр в тысячных долях дюйма. «SC 280» означает - кордитный шнур диаметром чуть более 7,1 мм.
- ↑ «SC 300» означает - кордитный шнур диаметром 7,62 мм.
- ↑ Часть источников приводит 752 м/с. Некоторые источники приводят начальную скорость снарядов при стрельбе - 732 м/с, что, скорее всего, является опечаткой в используемом источнике.
- ↑ К началу двадцатого века первый вариант брони Круппа устарел после разработки цементированной брони - Krupp cemented armour, Krupp cemented steel, K.C. armor, KC или KCA. Процесс производства остался в основном тем же, с небольшими изменениями в составе сплава: углерод - 0,35%, никель - 3,90%, хром - 2,00%, марганец - 0,35%, кремний - 0,07%, фосфор - 0,025%, сера - 0,020%. Броня KCA сохраняла закаленную лицевую поверхность крупповской брони за счет применения углекислого газа, но также сохраняла гораздо большую волокнистую эластичность на задней части листа. Повышенная эластичность значительно снижает вероятность образования сколов и трещин при обстреле, что является ценным качеством во время длительных боев. Баллистические испытания показали, что в других отношениях броня KCA и ранняя броня Круппа были примерно равны.
- ↑ Вероятно, как и везде, негативные результаты испытаний просто были положены под сукно, а производители неспешно пытались исправить ситуацию.
- ↑ Из них: 17 человек, включая командира расчета находились в башенном отделении, 6 - в рабочем (перегрузочном) отделении, 7 - в загрузочном отделении, 12 - в погребе зарядов, 22 - в погребе снарядов.
- ↑ По другим данным, 324-мм лобовые плиты, 274-мм передние бортовые, задние бортовые и тыловая плиты, 124-мм крыша, 25-мм пол в задней части башни. Впрочем, «встречаются» и 396-мм лобовые и 336-мм боковые плиты, что, разумеется, не соответствует действительности.
- ↑ Часть источников приводит максимальную толщину барбетов в 305 мм.
- ↑ Несведущие «специалисты» перенесли модель установки Mark II и на само орудие. Так во многих справочниках 30-х годов появилось мифическое «орудие Mark II», якобы установленное только на HMS Hood. Ему приписывались улучшенные баллистические качества за счет повышения начальной скорости до 805 м/сек. На самом деле характеристики ствола и кордитного заряда оставались прежними, но дальность действительно возросла за счет использования «постютландских» снарядов с удлиненной головной частью, увеличения угла возвышения, а повышенная скорость за счет 220 кг «усиленного» заряда. Такими характеристиками обладали все модернизированные установки.
- ↑ Сомнения в достаточности такой толщины возникли еще в стадии постройки HMS Hood. Адмирал Битти упорно советовал довести толщину крыш орудийных башен до 152 мм и настоял на проведении натурных испытаний. Из трех выстрелов по крыше, установленной на макете башни, два 343-мм снаряда фирмы «Hadfield» с бронебойными наконечниками не пробили ее, а третий, 381-мм нового образца производства фирмы «Vickers» оказался сильнее защиты. Он пробил 127-мм плиту насквозь, оставив в ней ровное, практически круглое отверстие с отогнутыми внутрь на 14 см краями. Если бы это произошло в бою, башня и находящиеся в ней люди как минимум полностью вышли бы из строя, но, памятуя о свойствах кордита, скорее всего возник бы пожар поданных наверх или находящихся в подаче зарядов со вполне вероятным распространением огня до погребов, с понятным исходом - гибелью корабля. Однако, поскольку 127-мм плиты для крыш башен HMS Hood уже изготовили, приняли решение использовать их. 152-мм плиты предполагалось установить на остальных трех кораблях серии, но их постройку прекратили, а защита HMS Hood получила еще одну потенциальную брешь.
- ↑ Такая сложная система защиты при формальном равенстве общей толщины на самом деле имела заведомо неодинаковую эффективность в разных секторах благодаря различиям в возможных углах встречи со снарядом. Как это ни странно, наиболее уязвимыми оставались самые толстые части, именно за счет того, что в определенном случае снаряд мог попасть в них по нормали, а для вывода из строя артиллерийской установки и воспламенения зарядов, находящихся в подаче, вовсе не обязательно было пробивать плиты насквозь. Вполне достаточно было частичного пробития с проникновением внутрь массивных горячих осколков самого снаряда и разбитой им брони.
- ↑ Единого мнения о прочности «проволочных» орудий нет: ряд специалистов считают, что они более склонны к прогибанию, чем «скрепленные» стволы, но в то же время высказываются мнения о примерной эквивалентности обоих типов конструкции. Нет никаких оснований считать «проволочные» стволы недостаточно прочными, чему свидетельством является операция, проведенная итальянцами над 305-мм/46 орудиями этой конструкции, у которых в 1930-е годы были рассверлены несколько слоев навивки при увеличении калибра до 320-мм/44 без каких-либо отрицательных последствий. Однако столь же несомненны ограничения по длине ствола и предельных баллистических данных таких орудий. Достаточно вспомнить фиаско длинных 50-калиберных 305-мм орудий Mark XI с высокой начальной скоростью, которые имели очень большое рассеяние из-за вибрации и прогибания ствола.
- ↑ Предполагалось, что в эту часть барбета снаряд мог попасть только пройдя через длинный участок приподнятого носа корабля, что маловероятно, поскольку относительно толстая обшивка должна была взвести взрыватель, и разрыв произошел бы еще до достижения барбета
- ↑ Ряд справочников приводят модель Mark I*/N RP 12, т.к. легкие линейные крейсера типа Courageous имели 381-мм установки модели Mark I*.
- ↑ Все башни модернизированных линкоров были оснащены 9,1-м совмещающими дальномерами той же фирмы «Barr & Stroud».
- ↑ В ряде источников, это не подтверждается или подтверждается только для HMS Queen Elizabeth, проходившего модернизации последним.
- ↑ На монитор, были установлены 234-мм/40 орудие Mark VIII и четыре 152-мм/40 орудий Marks II. В начале 1917 года все орудия были заменены на шесть 152-мм/50 орудия Mark IX. В ходе Первой Мировой войны использовался как плавучая батарея, а с 1922 года как плавказарма в Девонпорте до 1957, когда и был сдан на слом.
- ↑ Большинство источников предполагает, что первоначально 381-мм башня была изготовлена для легкого линейного крейсера HMS Furious на случай неудачи с установкой 457-мм/40 орудий Mark I в одноорудийных башнях. Или 381-мм башни для HMS Furious были заказаны, и уже после начала их изготовления, было принято решение о перевооружении легкого линейного крейсера на 457-мм/40 орудий Mark I.
- ↑ В ходе Второй Мировой войны монитор использовался как плавбаза, сдан на слом 10 июля 1946 года.
- ↑ Аналогично 381-мм установке монитора HMS Erebus, большинство источников считают ее запасной легкого линейного крейсера HMS Furious.
- ↑ Большинство источников изменения в системах управления огнем главного калибра не указывают вовсе.
- ↑ Однако в корабельной и строительной документации отсутствуют данные об установке башенных СУАО. Правда, в одном из секретных приказов Адмиралтейства от 1934 года, найденном британским исследователем Д. Робертсом, указывается, что всем линейным кораблям, кроме HMS Nelson и HMS Rodney не имевших таких устройств в принципе, приказано сдать свои башенные «столики» на берег, как «не соответствующие современным требованиям». Поскольку HMS Hood не попал в число исключений, он скорее всего в то время их имел.
- ↑ «Шкалы пеленгов» предусматривались только в военное время.
Приложение: Конструкция 381-мм установки Mark II
Цифрами обозначены: 1 - переговорные трубы, 2 - поддон для ручной загрузки (походное положение), 3 - маховик муфты поворота башни, 4 - муфта поворота башни, 5 - учебный ствол калибра 57-мм (6-фунтовой) (походное положение), 6 - стопорные болты башни, 7 - место установщика прицела, 8 - место вертикального наводчика, 9 - место горизонтального наводчика, 10 - место оператора затвора, 11 - рабочее место номера расчета, 12 - место наблюдателя открытого прицела, 13 - подвижный лоток заряжания, 14 - двигатель цепного прибойника, 15 - шкафчик для ветоши, 16 - кранцы для готовых к использованию снарядов, 17 - вентиляционный короб, 18 - вытяжной вентилятор, 19 - рабочая платформа для номеров расчета (ниже пола боевого отделения), 20 - гидронасос цепей стрельбы с электрическим приводом, 21 - червяк и червячное колесо в редукторе привода горизонтального наведения башни, 22 - двигатель привода горизонтального наведения башни, 23 - шкала поворота на верхней части барбета, 24 - маховик вертикального наведения, 25 - телескопический прицел, 26 - подшипник цапфы, 27 - кран для снаряда из кранцев и подачи поднятых из рабочего отделения снарядов, 28 - пульт управления краном 27, 29 - подъемник для заряжания орудий в поднятом положении, 30 - подъемник для заряжания орудий в рабочем отделении, 31 - откидной загрузочный лоток (в нижнем положении), 32 - направляющие для подъемника, 33 - верхний шкив троса подъемника, 34 - противоосколочный экран, 35 - кольцо крепления ствола, 36 - гидроцилиндры привода затвора, 37 - маховик управления затвором, 38 - крепление ствола, 39 - крепление брезентового чехла орудий, 40 - шпонка в броневом соединении, 41 - гидроцилиндры тормоза отката, 42 - опоры крыши башни, 43 - штормовой трос снаружи на крыше башни, 44, 45 - колпаки наводчиков, 46 - люк для доступа в рабочее отделение, 47 - воздушный цилиндр накатника, 48 - убранное положение платформы переносной погрузочной стрелы, 49 - убранные противооткатные упоры, 50 - вспомогательный кордитный подъемник - прямо из погреба зарядов в боевое отделение, 51 - отражатель ветра вокруг открытого кожуха дальномера, 52 - перископ горизонтального наводчика, 53 - телефон, 54 - рабочие места дальномерщиков, 55 - столик для прибора управления стрельбой Дюмареска, 56 - люк для доступа в выгородку офицера-командира башни (открытый), 57 - лестница, 58 - люк в полу боевого отделения, 59 - перископ вертикального наводчика, 60 - 30-футовый (9,15-м) дальномер, имеющий ограниченные углы наведения по горизонтали, 61 - казенник (открытый), 62 - отверстие для оптического прицела, 63 - прибойник, 64 - раздвижная дверь в правой части офицерской выгородки, 65 - место дальномерщика, 66 - платформа, 67 - лестница к рабочему месту дальномерщика, 68 - указатель горизонтальной наводки, 69 - указатель вертикальной наводки, 70 - указатель дальности, 71 - задний прицел, 72 - защитные барьеры из проволочной сетки, подвешенные между ограждениями, 73 - опора переговорной трубы, 74 - замыкатель подъемника, 75 - боковая направляющая, 76 - шестерня для приемной стойки подъемника, 77 - подшипник подъемника, 78 - клапан управления горизонтальной наводкой, 79 - замыкатель угла подъема (20°), 80 - ограничитель подъема ствола 30°, 81 - клапан управления элеватором, 82 - боевое отделение, 83 - орудийный колодец (левый и правый одинакового расположения), 84 - рабочее отделение, 85 - ствол, 86 - ролики башенного погона, 87 - центральный подъемник снарядов (для каждого орудия), 88 - подъемник зарядов (для каждого орудия), 89 - герметичный короб вокруг подъемника снарядов, 90 - герметичный короб вокруг позиции ожидания кордита, 91 - лоток снарядов в позиции ожидания загрузки, 92 - лоток зарядов в позиции ожидания загрузки, 93 - кордитный прибойник с двумя четвертьзарядами перед заряжанием, 94 - прибойник со снарядом в позиции заряжания, 95 - лоток ожидания вторичного подъемника снарядов, 96 - гидронасос с электрическим приводом, 97 - управление вспомогательным подъемником снарядов, 98 - пульт управления прибойником, 99 - патрубки, шланги и пр. гидросистемы, 100 - распределительный щит привода горизонтального наведения, 101 - главная шестерня горизонтального наведения, 102 - гибкая переговорная труба, 103 - кордитные подъемники в помещении загрузки, 104 - кран, 105 - снаряд в захвате, подвешенный к подвесному рельсу, 106 - подвесной рельс, 107 - брезентовый орудийный чехол, 108 - вращающийся стол для снарядов, 109 - тележка со снарядами, 110 - стойка стеллажей со снарядами, 111 - труба с электрическим кабелем, 112 - воздушная магистраль, 113 - подъемный цилиндр ствола, 114 - подъемный домкрат, 115, 116 - трубы гидросистемы к подъемного механизма ствола, 117 - люк доступа к платформе над механизмом горизонтального наведения, 118 - складная лестница для доступа в орудийный колодец 83, 119 - гидронасос цепей управления огнем с электрическим приводом, 120 - вспомогательный центральный подъемник снарядов, 121 - вспомогательный центральный подъемник кордита, 122 - ограничитель для горизонтального наведения, 123 - главный гидравлический бак, 124 - конструкции ограничителя горизонтального наведения, 125 - баллоны со сжатым воздухом, 126 - центральный подъемник, 127 - трубы парового отопления, 128 - рельсы для поддержки вращающейся структуры, 129 - подъемник снарядов к крану в боевом отделении, 130 - подъемник зарядов к крану в боевом отделении, 131 - цапфа, 132 - указатель подъема ствола, 133 - приемник указателя вертикального наведения, 134 - трос к лотку заряжания орудия для удержания на одной линии, 135 - главный и вспомогательный прерыватели стрельбы, 136 - вспомогательный подъемник, 137 - вспомогательный снарядный подъемник из снарядного погреба в рабочее отделение, 138 - ось крепления механического ударника.





Литература и источники
Литература
- Friedman N. Naval weapons of World War one. — Barnsley, UK: Seafort Publishing, 2011. — EPub с. — ISBN 978-1-84832-100-7
- Campbel J. Naval weapons of World War two. — Annapolis, Maryland, USA: Naval Institute Press, 1985/2002. — 406 с. — ISBN 0-87021-459-4
- Roberts J. British battlecruisers: 1905-1920. — Barnsley, Great Britain: Chatham Publishing/Seaforth Publishing, 1997/2016. — 134 с. — ISBN 978-1-4738-8235-5
- John Roberts Anatomy of the ship: The battlecruiser «Hood». — London, Great Britain: Conway Maritime Press, 1982/2001. — 133 с. — ISBN 0-85177-900-X
- Ross Watton Anatomy of the ship: The battleship «Warspite». — London, Great Britain: Conway Maritime Press, 1986/2002. — 122 с. — ISBN 1-59114-039-0
- Кофман В.Л. Линейные корабли типа «Лайон» и «Вэнгард». — «Боевые корабли мира». — С-Пб.: Арбузов В.В., 1997. — 40 с.
- Мужеников В.Б. Линейные крейсера Англии. Часть 3. — «Боевые корабли мира». — С-Пб.: Арбузов В.В., 2001. — 96 с.
- Мужеников В.Б. Линейные крейсера Англии. Часть 4. — «Боевые корабли мира». — С-Пб.: Арбузов В.В., 2006. — 118 с.
- Кофман В.Л. Линейный корабль «Вэнгард». — «Морская коллекция». — Москва: АОЗТ Редакция журнала «Моделист-Конструктор», 2000 №4. — 36 с.
- Кофман В.Л. Гибель владыки морей. Линейный крейсер «Худ». — «Война на море». — Москва: Яуза, Эксмо, 2009. — 128 с. — ISBN 978-5-699-36380-3
- Кофман В.Л., Дашьян А.В. Ужас «карманных» линкоров. Линейные крейсера «Ринаун» и «Рипалс». — «Война на море». — Москва: Яуза, Эксмо, 2011. — 128 с. — ISBN 978-5-699-50358-2
- Михайлов А.А. Сверхдредноуты Черчилля «Куин Элизабет», «Вэлиант» и др. Через две Мировые войны. — «Война на море». — Москва: Яуза, Эксмо, 2015. — 112 с. — ISBN 978-5-699-84494-4
- Паркс О. Линкоры Британской Империи. Часть 7: Эпоха дредноутов. — СПб: ООО «Галея Принт», 2008. — 116 с. — ISBN 978-5-8172-0132-1
- Паркс О. Линкоры Британской Империи. Часть 8: Последние властелины морей. — СПб: ООО «Галея Принт», 2011. — 190 с. — ISBN 978-5-8172-0140-6
- Мужеников В.Б. Немецкие линейные крейсера Первой мировой. — «Война на море». — Москва: Яуза, Эксмо, 2018. — 176 с. — ISBN 978-5-9955-0992-9
- Патянин С.В., Дашьян А.В. Дредноуты Первой мировой. Уникальная энциклопедия. — «Война на море». — Москва: Яуза, Эксмо, 2015. — 384 с. — ISBN 978-5-699-78217-8
- Лисицын Ф.В. Крейсера Первой Мировой. — «Война на море». — Москва: Яуза, Эксмо, 2015. — 448 с. — ISBN 978-5-699-84344-2
Ссылки
- dreadnoughtproject.org(англ.)
- www.navweaps.com(англ.)
- www.shipbucket.com(англ.)
- www.german-navy.de(англ.)
- Naval History and Heritage Command(англ.)
- www.naviearmatori.net(ит.)
- www.associazione-venus.it(ит.)
- Kreiser
- forums.airbase.ru
- www.airwar.ru
- pvo.guns.ru
- seawarpeace.ru
- tsushima.su










